Zurück zu
Solo
>
Rasenmäher
>
Aufsitzmäher / Rasentraktoren
>
555 / 555 Hydro
>
2004
>
AUFFANGSACK
Ersatzteillisten für Solo Rasenmäher AUFFANGSACK
Pos.
Bezeichnung
Ersatzteilnummer
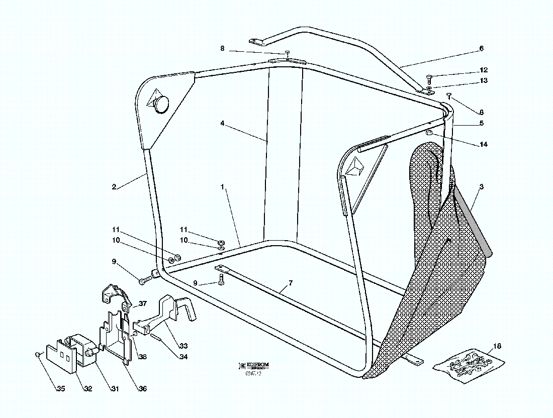
1
UNTERERRAHMEN
84801103/0
2
OBERERRAHMEN
84801105/0
3
SACK
84106050/0
4
RECHTER HALTER
27010205/0
5
LINKER HALTER
27010207/0
6
STANGE
84869051/0
7
VERSTAERKUNG
84650100/0
8
SCHRAUBE
12729601/1
9
SCHRAUBE
12792099/0
10
GROWER
12582101/0
11
MUTTER
12292100/0
12
SCHRAUBE
12674701/0
13
SCHEIBE
12521331/0
14
MUTTER
12154510/0
18
SCHRAUBENAUSRÜSTUNG (8÷17)
84180180/0
31
SCHUTZ
25600041/0
32
SCHUTZDEKEL
25600042/0
33
HEBEL
25318124/0
34
STIFT
12400030/0
35
SCHRAUBE
12728510/0
36
SCHUTZ
25600047/0
37
SCHUTZDEKEL
25600048/0
38
SCHRAUBE
12728450/0
Gebrauchsanweisungen
Solo
Pflanzenschutzgeräte
Motorsägen
Motorsensen
Motorhacken
Balkenmäher
Vertikutierer
Rasenmäher
Aufsitzmäher / Rasentraktoren
576 / 576 Hydro
575 / 575 Hydro
572 / 572 Hydro
570 / 570 Hydro
562 Hydro
560 / 560 Hydro
557
556
555 / 555 Hydro
2004
KLEBZETTEL
ZUBEHOERE NACH ANFRAGE
AUFFANGSACK
ELETRISCHETEILE
SCHNEIDWERKZEUG (2)
SCHNEIDWERKZEUG (1)
SCHNEIDWERKZEUG AUFHEBESATZ
GETRIEBE F72 hydro
GETRIEBE F72
MOTOR 10 HP TECUMSEH
MOTOR 10-10,5-11-11,5-12-12,5 HP B&S
GETRIEBE UND BREMSE ANTRIEB
BREMSE UND WECHSEL ANTRIEB
LENKGETRIEBE
KARROSSERIE
RAHMENSATZ
2003
2002
2001
2000
1999
555 PM
Benzin-Antriebs-Mäher
Benzin-Schiebe-Mäher
Elektro Rasenmäher
Blasgeräte
Multimot
Impressum
(C) by motoruf