Zurück zu
Solo
>
Rasenmäher
>
Benzin-Schiebe-Mäher
>
Primo 546 / 546 Z
>
ET 10/2002 Druck 9 546 710
>
Bedienteile R/HR/RS/SM
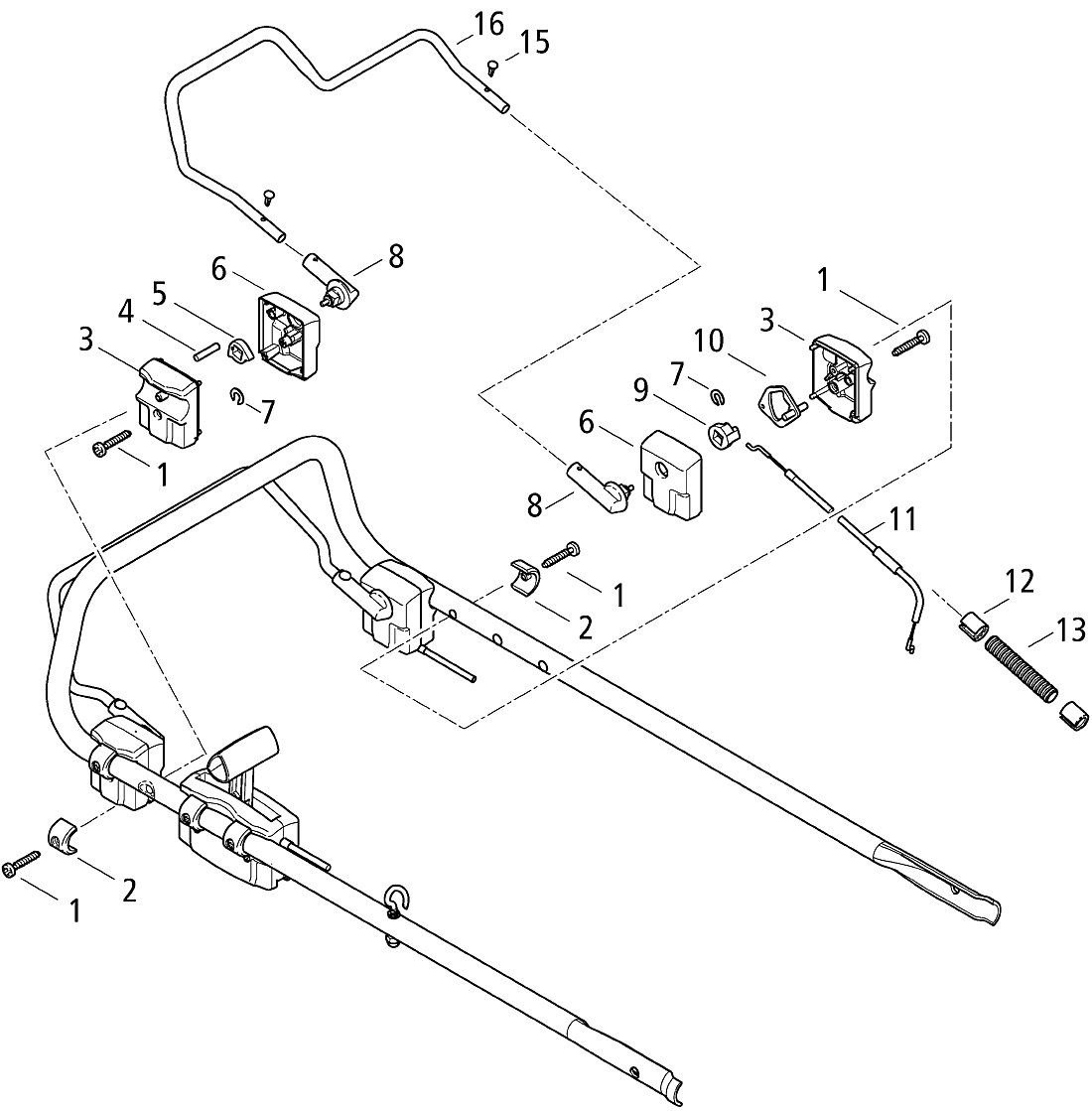
Ersatzteillisten für Solo Rasenmäher Bedienteile R/HR/RS/SM
Pos.
Bezeichnung
Ersatzteilnummer
1
Li.Shr.4x35 KTKX T25
0018358
2
Halbschelle
5074110
3
Schaltgehäuse-innen
5074959
4
Zylinderstift 6m6x28 DIN 7
0040197
5
Klemmmstück
5074127
6
Schaltgehäuse-aussen
5074958
7
Sicherungsscheibe
0055104
8
Bügel-Aufnahme
5800491
9
Schaltnocken
5016100
10
Schalthebel
5800487
11
Bowdenzug Fahrantrieb
3800361
12
Endhülse 15,4x18,5x20
5074204
13
Wellschlauch, Ø 12 mm
0064427
15
Abdeckklammer
0044286
16
Schaltbügel, Fahrantrieb
5035112
Gebrauchsanweisungen
Solo
Pflanzenschutzgeräte
Motorsägen
Motorsensen
Motorhacken
Balkenmäher
Vertikutierer
Rasenmäher
Aufsitzmäher / Rasentraktoren
Benzin-Antriebs-Mäher
Benzin-Schiebe-Mäher
585
Primo 582
Primo 554 / 554 Z
552 Z
551
Primo 550 / 550 H / 550 O
Primo 546 / 546 Z
ET 10/2002 Druck 9 546 710
Druckvorlage (PDF-698 KB)
Bedienteile RS/SM
Bedienteile R/HR/RS/SM
Holm
Bedienteile 546/R/HR/RS/SM
Messerantrieb
Vorderradachse
Hinterradachse 546
Hinterradachse R / RS / HR / SM
Gehäuse Unterteil
Gehäuse Oberteil
ET 05/1999 Druck 9 546 708
ET 02/1992 Druck 9 546 706
ET 02/1991 Druck 9 546 705
ET 02/1989 Druck 9 546 704
Primo 545
Elektro Rasenmäher
Blasgeräte
Multimot
Impressum
(C) by motoruf