Zurück zu
Solo
>
Rasenmäher
>
Benzin-Schiebe-Mäher
>
Primo 550 / 550 H / 550 O
>
ET 10/2002 Druck 9 550 707
>
Bedienteile Vario
Ersatzteillisten für Solo Rasenmäher Bedienteile Vario
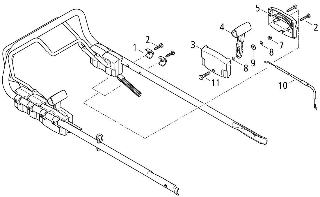
Pos.
Bezeichnung
Ersatzteilnummer
1
Halbschelle
5074110
2
Li.Shr.4x35 KTKX T25
0018358
3
Schaltgehäuse Innen, bedruckt Vario
5800479
4
Hebel mit Buchse
5800488
5
Gehäuse aussen
5074956
7
6KT.MU.M6 FLSH.SI.STO.980
0028119
8
Scheibe 6,2x12x0,6 2093 TE
0072111
9
Scheibe 6,4 mm
0030125
10
Bowdenzug Vario
3800360
11
Sechskantschr. M6x35 mm DIN 931-8.8
0012125
Gebrauchsanweisungen
Solo
Pflanzenschutzgeräte
Motorsägen
Motorsensen
Motorhacken
Balkenmäher
Vertikutierer
Rasenmäher
Aufsitzmäher / Rasentraktoren
Benzin-Antriebs-Mäher
Benzin-Schiebe-Mäher
585
Primo 582
Primo 554 / 554 Z
552 Z
551
Primo 550 / 550 H / 550 O
ET 10/2002 Druck 9 550 707
Zündschloß
Druckvorlage (PDF-1252 KB)
Bedienteile Vario
Bedienteile Fahrantrieb
Holm
Bedienteile Motorbremse
Messerantrieb
Vorderradachse
Hinterradachse R / HR / RS / HRM
Hinterradachse 550 / H
Rasenmähergehäuse
Gehäuse-Grasfangsack
ET 03/1999 Druck 9 550 705
ET 06/1998 Druck 9 550 704
ET 05/1997 Druck 9 550 703
ET 05/1997 Druck 9 550 702
ET 05/1994 Druck 9 550 701
ET 06/1993 Druck 9 550 700
Primo 546 / 546 Z
Primo 545
Elektro Rasenmäher
Blasgeräte
Multimot
Impressum
(C) by motoruf