Zurück zu
Solo
>
Motorhacken
>
501-2T
>
ET 03/2003 Druck 9 501 700
>
Benzintank
Ersatzteillisten für Solo Motorhacken Benzintank
Pos.
Bezeichnung
Ersatzteilnummer
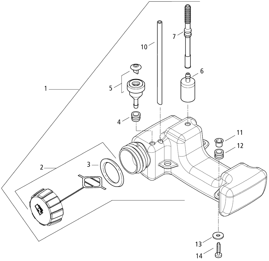
1
Benzintank enth. ( -> 1-12
2700429
2
Tankverschluss enth. ( -> 9, 10
2700187
3
Dichtung 30,5x40,8x2 mm <- )
0061330
4
Tülle
8063247
5
Entlüftungsstutzen
2700405
6
Filter Benzinsucher
2700416
7
Kraftstoffschlauch
6063336
10
Schlauch 3x1,5x130 mm Primerrücklauf
0064450
11
Rohrnieten 8x0,75x7 mm
0044285
12
Dämpfungsgummi <- )
0094197
13
Scheibe 5,3 mm
0030102
14
Linsenschraube 5x20 mm
0018363
Gebrauchsanweisungen
Solo
Pflanzenschutzgeräte
Motorsägen
Motorsensen
Motorhacken
503 / 508
506
504 (25108)
503 (25111 / 25093) A / B / C / D
502
501-2T
ET 03/2003 Druck 9 501 700
Hacke ohne Motor
Druckvorlage (PDF-1558 KB)
Zündung und Gaszug
Benzintank
Lüfterdeckel, Starter
Luftfilter, Vergaser, Auspuff
Motor-Kurbelwelle
501-4T
Balkenmäher
Vertikutierer
Rasenmäher
Blasgeräte
Multimot
Impressum
(C) by motoruf