Zurück zu
Solo
>
Blasgeräte
>
440
>
ET 05/2003 Druck 9 440 700
>
Benzintank
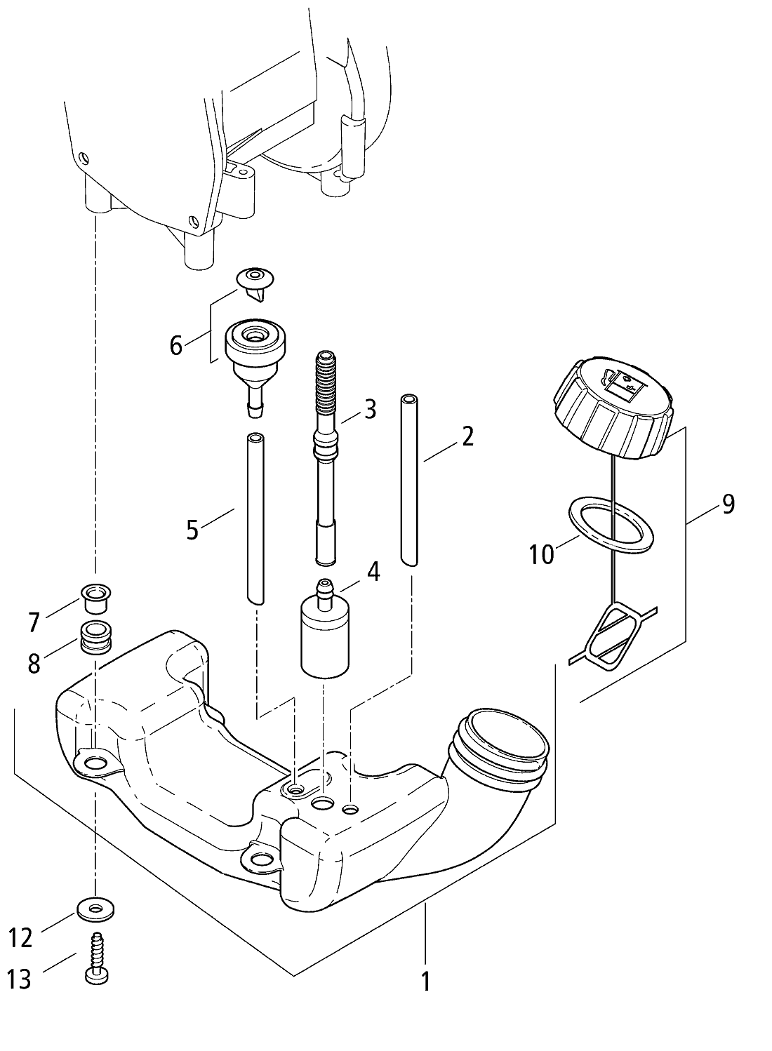
Ersatzteillisten für Solo Blasgeräte Benzintank
Pos.
Bezeichnung
Ersatzteilnummer
1
Benzintank enth. ( -> 1-8
2700104
2
Schlauch 3x1,5x85 mm Primerrücklauf
0064419
3
Schlauch 3x103 mm Kraftstoff
4063253
4
Filter Benzinsucher
2700416
5
Schlauch 3x1,5x85 mm Primerrücklauf
0064419
6
Entlüftungsstutzen
2700405
7
Rohrnieten 8x0,75x7 mm
0044285
8
Dämpfungsgummi <- )
0094197
9
Tankverschluss enth. ( -> 9, 10
2700187
10
Dichtung 30,5x40,8x2 mm <- )
0061330
12
Scheibe 5,3 mm
0030102
13
Linsenschraube 5x20 mm
0018363
Gebrauchsanweisungen
Solo
Pflanzenschutzgeräte
Motorsägen
Motorsensen
Motorhacken
Balkenmäher
Vertikutierer
Rasenmäher
Blasgeräte
414
470
470-01 / 470-02
471 Kat
472
445
440
ET 05/2003 Druck 9 440 700
Motor, Kurbelwelle
Kurbelgehäuse
Luftfilter, Vergaser, Auspuff
Zündung, Gaszug
Benzintank
Lüfterdeckel, Starter
Gehäuse
Handgriff, Standfuß
Blas- Saugrohre, Zubehör
Druckvorlage (PDF-1059 KB)
ET 04/2004 Druck 9 440 701
441
Multimot
Impressum
(C) by motoruf