Zurück zu
Solo
>
Motorsensen
>
Semiprofessionelle Motorsensen
>
132
>
ET 02/1998 Druck 9 132 701
>
Biegewelle / Kupplungsmuffe 132
Ersatzteillisten für Solo Motorsensen Biegewelle / Kupplungsmuffe 132
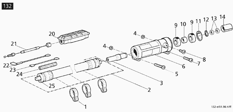
Pos.
Bezeichnung
Ersatzteilnummer
1
Halter Bowdenzug
5074988
2
Biegewelle
3300190
3
Hohlwelle
2033134
4
Sechskantmutter M5 EN 27040
0020131
5
Zylinderschraube M5x40
0018340
6
Kupplungsmuffe
2011805
7
Zylinderschraube M5x25
0018338
8
Zylinderschraube M5x14,5
0018405
9
Kugellager 12x28x8
0050177
10
Distanzhülse 16x12,4x7
0033362
11
Sicherungsring 12x1 DIN 471
0055134
12
Sicherungsring 28x1,2 DIN 472
0055166
13
Distanzring 17x24x10
2074952
14
Zwischenhülse
6043991
20
Zugverbindung
2074848
21
Bowdenzug, Gas
2800567
22
Kurzschlußkabel
0084740
23
Massekabel
0084739
24
Schlauch 8,5x36
0064415 R
25
Biegewelle
6035345
Gebrauchsanweisungen
Solo
Pflanzenschutzgeräte
Motorsägen
Motorsensen
Professionelle Motorsensen
Semiprofessionelle Motorsensen
130R / 130LR / 130 BR
132
Hoch-Entaster Vorsatz
ET 02/1998 Druck 9 132 701
Zubehör
Werkzeug / Serienausrüstung
Rückentragegestell 132
Biegewelle / Kupplungsmuffe 132
Getriebe / Schutz
Schaftrohr / Schutz
Griffrohr/ Gasbetätigung
Griff / Gasbetätigung
Motor Honda
Motor / Gehäuse
130 H
130
127 H
127
Leichte-Benzimotor-Sensen
Elektromotor-Sensen
Motorhacken
Balkenmäher
Vertikutierer
Rasenmäher
Blasgeräte
Multimot
Impressum
(C) by motoruf