Zurück zu
Solo
>
Rasenmäher
>
Benzin-Schiebe-Mäher
>
Primo 554 / 554 Z
>
Neue Holmteile 2001
>
Ersatzteilliste Holm 2001
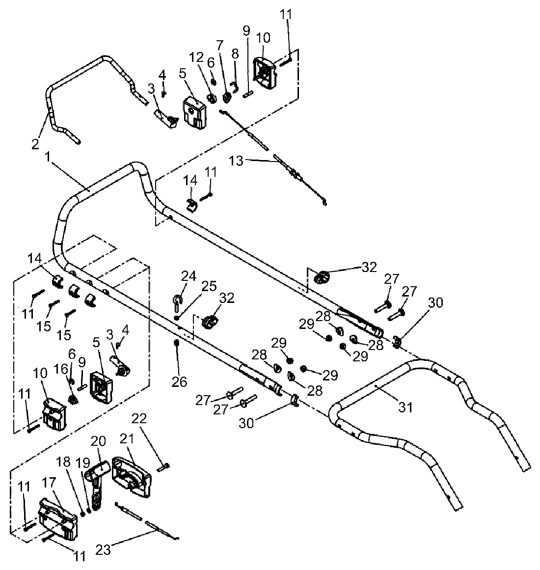
Ersatzteillisten für Solo Rasenmäher Ersatzteilliste Holm 2001
Pos.
Bezeichnung
Ersatzteilnummer
1
Holm Oberteil
5035967
2
Schaltbügel-Motorbremse
5035113
3
Bügel-Aufnahme
5800491
4
Abdeckklammer
0044286
5
Schaltgehäuse-innen
5074959
6
Sicherungsscheibe
0055104
7
Schalthebel 2
5074122
8
Verbindungsstange
5036406
9
Zylinderstift 6m6x28 DIN 7
0040197
10
Schaltgehäuse-aussen
5074958
11
Li.Shr.4x35 KTKX T25
0018358
12
Schalthebel
5074126
13
Bowdenzug Motorbremse
3800350
14
Halbschelle
5074110
15
Li.Shr.4x30 KTKX T25
0018376
16
Klemmmstück
5074127
17
Gehäuse aussen
5074956
18
Sechskantmutter M6
0020122
19
Scheibe 6,2x12x0,6 2093 TE
0072111
20
Hebel
5074950
21
Schaltgehäuse innen bedruckt Choke
5800478
22
Sechskantschraube M6 x 30 mm
0012171
23
Bowdenzug Gas
3800359
24
Schraube M6 x 59 mm Öse 12
5031980
25
Sechskantmutter M6
0020116
26
Hutmutter M6
0024110
27
Flachrundschraube M8 x 45 mm
0017110
28
Scheibe 8,4 x 25 x2 mm gewölbt
0030164
29
Sechskantmutter M8
0028116
30
Schutzkappe
5074246
31
Holm-Unterteil
503598711
32
Halter 22 Bowdenzug
5074100
Gebrauchsanweisungen
Solo
Pflanzenschutzgeräte
Motorsägen
Motorsensen
Motorhacken
Balkenmäher
Vertikutierer
Rasenmäher
Aufsitzmäher / Rasentraktoren
Benzin-Antriebs-Mäher
Benzin-Schiebe-Mäher
585
Primo 582
Primo 554 / 554 Z
Neue Holmteile 2001
Ersatzteilliste Holm 2001
Neue Holmteile 1996
ET 01/1992 Druck 9 554 713
ET 02/1991 Druck 9 554 712
ET 11/1989 Druck 9 554 711
554
552 Z
551
Primo 550 / 550 H / 550 O
Primo 546 / 546 Z
Primo 545
Elektro Rasenmäher
Blasgeräte
Multimot
Impressum
(C) by motoruf