Zurück zu
motoruf
Warenkorb

Ersatzteillisten für Solo Motorsensen Kurbelgehäuse, Kurbelwelle, Kolben




Ersatzteilliste


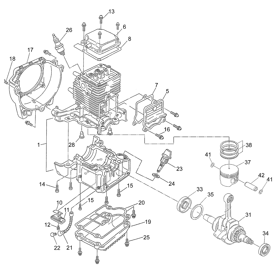
Pos.BezeichnungErsatzteilnummer
1Zylinderblock5931005000
5Abdeckung5921500502
6Abdeckung5931004000
7Dichtung5921500700
8Dichtung5931500800
10Ventil5921501000
11Platte5921501100
12Bolzen M4x10 mm0119049960
13Schraube M5x16 mm0043605160
14Bolzen M5x16 mm0119059470
15Bolzen M5x33 mm0119059860
16Schraube M5x14 mm0043605140
17Gebläsegehäuse5935500200
18Schraube M5x16 mm0119059531
19Ölwanne5936500000
20Dichtung5936500100
21Ölschlauch5926500200
22Gewicht5926500300
23Ölfühler5926500600
24Dichtung0213169990
25Schraube M5x18 mm0043605180
26Zündkerze0650109950
28Ventil5921501800
31Kurbelwelle5932003000
33Wellendichtring0440129950
34Wellendichtring0440109970
35Sicherung5932501000
37Kolben5932500400
38Kolbenring5932004000
41Kolbenbolzensicherung0565099990
42Kolbenbolzen5932500900
Gebrauchsanweisungen
Solo
Impressum
(C) by motoruf