Zurück zu
Solo
>
Rasenmäher
>
Aufsitzmäher / Rasentraktoren
>
555 / 555 Hydro
>
2000
>
MOTOR 10,5 HP B&S
Ersatzteillisten für Solo Rasenmäher MOTOR 10,5 HP B&S
Pos.
Bezeichnung
Ersatzteilnummer
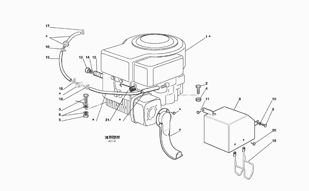
1
MOTOR
MOTOR
2
SCHRAUBE
12793701/0
3
SCHRAUBE
12691100/0
4
MUTTER
12293201/0
5
MUTTER
12293200/0
6
SCHEIBE
12540260/0
7
AUSPUFFANSCHLUSS
84640550/0
8
AUSPUFFSCHUTZ
82598001/0
9
SCHRAUBE
12735510/0
10
SCHEIBE
12540260/0
11
SCHRAUBE
12735104/0
12
ÖL ENTLERUNGSVERLAENGERUNG
27598060/0
13
OELVERSCHLUSS
18737849/0
14
DICHTUNG
18401001/0
15
ROHR
25869004/0
17
KABELBEFESTIGUNG
18375053/0
18
KABELBEFESTIGUNG
18375051/1
19
AUSPUFFSCHUTZ
27600059/1
20
SCHRAUBE
12735110/0
21
FEDER
27430562/0
Gebrauchsanweisungen
Solo
Pflanzenschutzgeräte
Motorsägen
Motorsensen
Motorhacken
Balkenmäher
Vertikutierer
Rasenmäher
Aufsitzmäher / Rasentraktoren
576 / 576 Hydro
575 / 575 Hydro
572 / 572 Hydro
570 / 570 Hydro
562 Hydro
560 / 560 Hydro
557
556
555 / 555 Hydro
2004
2003
2002
2001
2000
ELEKTRISCHES SCHEMA 10,5 - 8,5 - 10 HP B&S - 10 HP TECUMSEH (F72 hy.)
ELEKTRISCHES SCHEMA 10,5 - 8,5 - 10 HP B&S - 10 HP TECUMSEH (F72)
KLEBZETTEL
ZUBEHOERE NACH ANFRAGE
ELEKTRISCHETEILE F72 hy.
ELEKTRISCHETEILE F72
AUFFANGSACK
SCHNEIDWERKZEUG (2)
SCHNEIDWERKZEUG (1)
SCHNEIDWERKZEUG AUFHEBESATZ
GETRIEBE F72 hy.
GETRIEBE F72
MOTOR 10 HP TECUMSEH
MOTOR 8,5 HP B&S
MOTOR 10,5 HP B&S
GETRIEBE UND BREMSE ANTRIEB F72 hy.
LENKGETRIEBE
BREMSE UND WECHSEL ANTRIEB F72
RAHMENSATZ
KARROSSERIE F72 / F72 hy.
1999
555 PM
Benzin-Antriebs-Mäher
Benzin-Schiebe-Mäher
Elektro Rasenmäher
Blasgeräte
Multimot
Impressum
(C) by motoruf