Zurück zu
Solo
>
Rasenmäher
>
Aufsitzmäher / Rasentraktoren
>
575 / 575 Hydro
>
570 PM
>
MOTOR
Ersatzteillisten für Solo Rasenmäher MOTOR
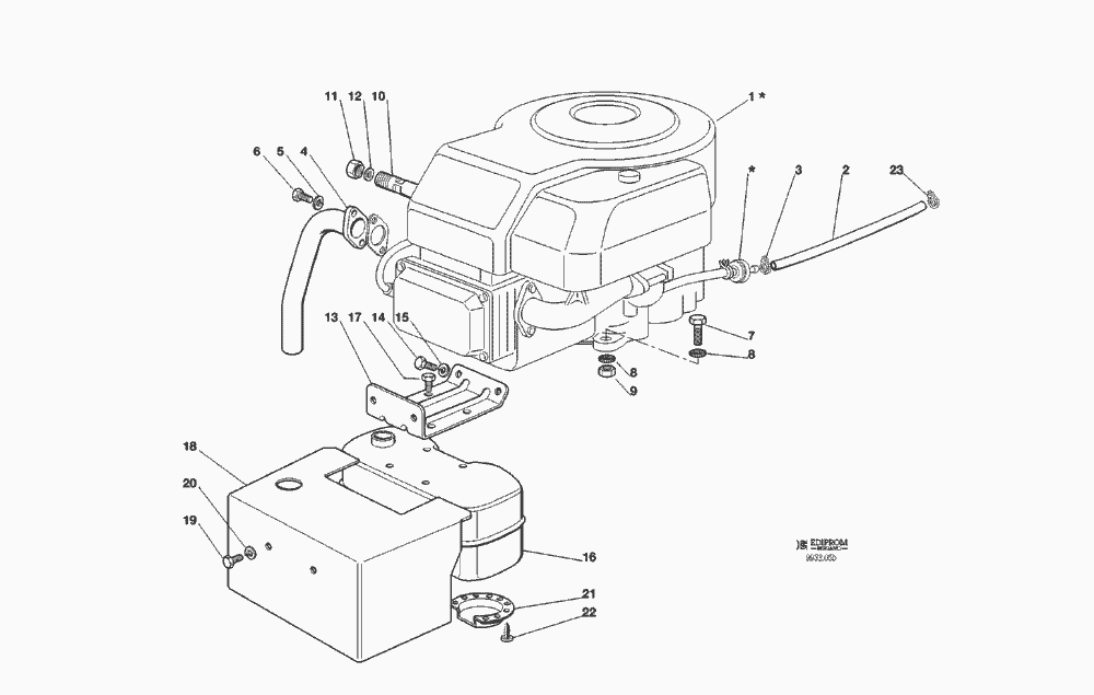
Pos.
Bezeichnung
Ersatzteilnummer
1
MOTOR
MOTOR
2
VERBINDUNGSROHR
25869016/0
3
KABELBEFESTIGUNG
18375051/1
4
VERBINDUNGSROHR FÜR ABGASUNG
18738206/0
5
GROWER
12583500/0
6
SCHRAUBE
12735530/0
7
SCHRAUBE
12691115/0
8
SCHEIBE
12540260/0
9
MUTTER
12293200/0
10
ÖL ABFLUSS
25598050/0
11
OELVERSCHLUSS
18737849/0
12
DICHTUNG
18401001/0
13
AUSPUFFHALTERSATZ
82785093/0
14
SCHRAUBE
12793102/0
15
GROWER
12583500/0
16
AUSPUFF MIT DEFLEKTOR
18716132/0
17
SCHRAUBE
12735599/0
18
SCHUTZE
82598009/1
19
SCHRAUBE
12792611/0
20
GROWER
12583500/0
21
DEFLEKTOR
18310005/0
22
SCHRAUBE
12735106/0
23
KABELBEFESTIGUNG
18375053/0
Gebrauchsanweisungen
Solo
Pflanzenschutzgeräte
Motorsägen
Motorsensen
Motorhacken
Balkenmäher
Vertikutierer
Rasenmäher
Aufsitzmäher / Rasentraktoren
576 / 576 Hydro
575 / 575 Hydro
2004
2003
2002
2001
2000
1999
570 PM
ELEKTRONISCHE KARTE MIT BUZZER
ELEKTRONISCHE KARTE MIT BUZZER
KLEBZETTEL
ELEKTRONISCHE KARTE MIT BUZZER
ELEKTRISCHETEILE
VORRICHTUNG FÜR AUSWURFSCHUTZ
SCHNEIDWERKZEUG (2)
AUFFANGSACK
GETRIEBE
SCHNEIDWERKZEUG AUFHEBESATZ
SCHNEIDWERKZEUG (1)
MOTOR
MOTOR
MOTOR
MOTOR
MOTOR
BREMSE UND WECHSEL ANTRIEB
LENKGETRIEBE
KONSOLE UND SITZ
KARROSSERIE UND GEHÄUSE
572 / 572 Hydro
570 / 570 Hydro
562 Hydro
560 / 560 Hydro
557
556
555 / 555 Hydro
Benzin-Antriebs-Mäher
Benzin-Schiebe-Mäher
Elektro Rasenmäher
Blasgeräte
Multimot
Impressum
(C) by motoruf