Zurück zu
Solo
>
Motorsensen
>
Leichte-Benzimotor-Sensen
>
126
>
ET 07/1991 Druck 9 126 701
>
Schaftrohr/ Schutz
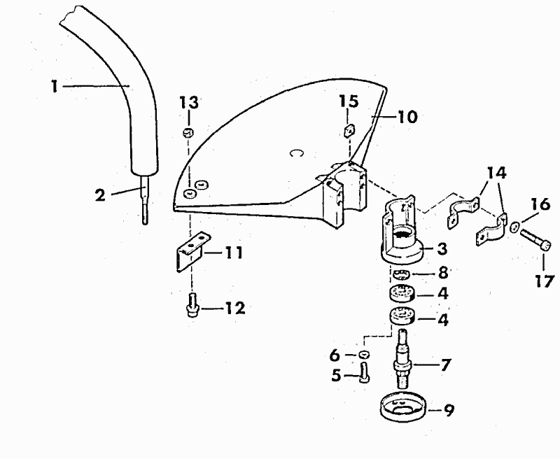
Ersatzteillisten für Solo Motorsensen Schaftrohr/ Schutz
Pos.
Bezeichnung
Ersatzteilnummer
1
SCHAFTROHR24X1,
6300312
2
WELLE6X1325 ANT.FLEXIBEL
6035342
3
GEHAEUSE SWZ.RAL.9005
6073583
4
KUG.LAG.12X28X8 6001 2RSR
0050173
5
Linsenschraube 5x16 mm
0018274
6
Scheibe 5,2x12x0,5 mm
0072140
7
WELLE M10X1,25X75
3031314
8
Sicherungsring 12x1 DIN 471
0055134
9
WICKELSCHUTZ
3043432
10
SCHUTZ RT.
6073589
11
MESSER FADENBEGRENZ.
6043371
12
ZYL.SHR.M5X16INRI-12.9
0018279
13
6KT.MU.M5 FLSH.SI.STO.980
0028135
14
SCHELLE24X28 GEHAEUSE
6043423
15
Vierkantmutter M5
0021241
16
SI.SCHEIBE5VS SCR.
0034201
17
ZYL.SHR.M5X30 912-8.8ZN GELB
0010134
Gebrauchsanweisungen
Solo
Pflanzenschutzgeräte
Motorsägen
Motorsensen
Professionelle Motorsensen
Semiprofessionelle Motorsensen
Leichte-Benzimotor-Sensen
128
126
ET 01/1994 Druck 9 126 703
ET 04/1992 Druck 9 126 702
ET 07/1991 Druck 9 126 701
Zubehör
Schaftrohr/ Schutz
Flanschgehäuse
Werkzeug / Gurt
Griff / Gasbetätigung
Getriebe / Schutz
Griffrohr/ Gasbetätigung
Motor / Zündung / Vergaser
Gehäuse / Luftfilter
124
120
MT 25
MS 25
119
118
129
121
117
106 L / 106 B / 106 LR / 106 BR
105 L
Elektromotor-Sensen
Motorhacken
Balkenmäher
Vertikutierer
Rasenmäher
Blasgeräte
Multimot
Impressum
(C) by motoruf