Zurück zu
Solo
>
Pflanzenschutzgeräte
>
Rückenspritzen
>
425
>
ET 04/2004 Druck 9 425 748
>
Spritzrohr, Handventil, Düse
Ersatzteillisten für Solo Pflanzenschutzgeräte Spritzrohr, Handventil, Düse
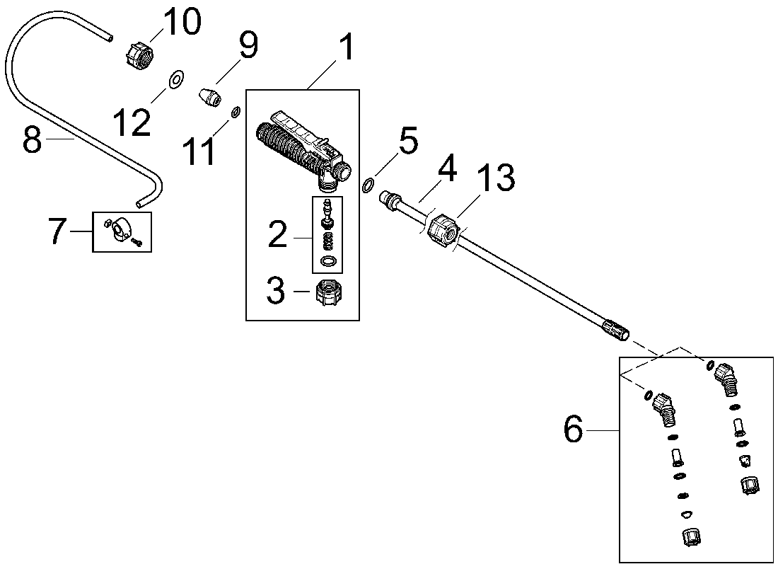
Pos.
Bezeichnung
Ersatzteilnummer
1
HANDVENTIL M.HALTEBUEGEL
4800170
2
REP.SET.HANDVENTIL4800170+
0610402
3
MU.R3/4"ÜW.PP=MAT.SWZ.
4074336
4
SPRITZROHR500
4900391
5
O.RING16X3NBR/PERB 70SH.CA.
0062258
6
Düsensatz enth.: Winkelstück, Überwurfmutter, 2 x O-Ringe 10 mm, 1 x O-Ringe 12 mm, Filtereinsatz: - 3 Flachstrahdüsen, - 3
4900448
7
SCHELLE16,5X10SWZ.
0066388
8
SCHLAUCH10X3XMT.PVC+GEW.18BAR
0064234
9
KLEMMSTUECK
4074500
10
MU.R3/4"/17,5ÜW PP=MAT.SWZ
4074337
11
O.RING10X3NBR 70SH.
0062271
12
SCHEIBE16,5X24X1 5ZN.
0031356
13
MU.R3/4"/17,5ÜW PP=MAT.SWZ
4074337
Gebrauchsanweisungen
Solo
Pflanzenschutzgeräte
Druckspritzen
Rückenspritzen
425
ET 11/1989 Druck 9 425 741
ET 02/1993 Druck 9 425 744
ET 08/1995 Druck 9 425 745
ET 04/1997 Druck 9 425 746
ET 07/1999 Druck 9 425 747
ET 04/2004 Druck 9 425 748
Behälter, Tragegurt
Kolbenpumpe
Spritzrohr, Handventil, Düse
Zubehör
Druckvorlage (PDF-456 KB)
435
475
485
473P
473D
Motor Rückenspritzen
Sprühgeräte
Fahrbare Sprühgeräte
Granulat-Streuer
Motorsägen
Motorsensen
Motorhacken
Balkenmäher
Vertikutierer
Rasenmäher
Blasgeräte
Multimot
Impressum
(C) by motoruf