Zurück zu
Solo
>
Motorsägen
>
Hobby-Motorsägen
>
630
>
ET 12/2002 Druck 9 630 710
>
Starter
Ersatzteillisten für Solo Motorsägen Starter
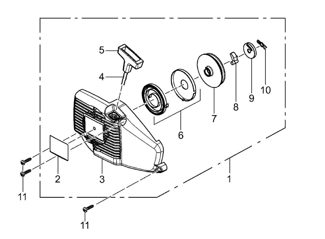
Pos.
Bezeichnung
Ersatzteilnummer
1
Starter, kompl.
2600306
2
SKS “SOLO”
0069889
3
Startergehäuse
2100891
4
Starterseil 3x850 mm
006317025
5
Startergriff <- )
2074570
6
Federkassette
2600283
7
Seilrolle
2074992
8
Starterklinke
2074135
9
Kulisse
2074136
10
Federstecker 1,4
0073417
11
Linsenschraube 5x20 mm
0018363
Gebrauchsanweisungen
Solo
Pflanzenschutzgeräte
Motorsägen
Professionelle Motorsägen
Semiprofessionelle Motorsägen
Hobby-Motorsägen
641 / Farmer 40
640
630
ET 12/2002 Druck 9 630 710
Starter
Motor
Bügel/Handgriff
634 / Farmer 33
636 / 636 Deko
635
Elektrosägen
Motorsensen
Motorhacken
Balkenmäher
Vertikutierer
Rasenmäher
Blasgeräte
Multimot
Impressum
(C) by motoruf