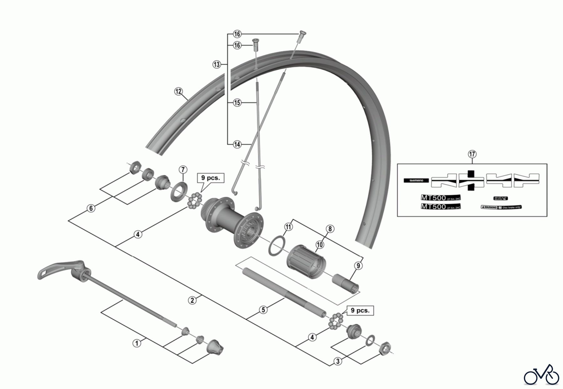
Shimano WH-MT500-CL-R-275 Rear Wheel (8/9/10/MTB 11-speed) Ersatzteile
Body Fixing Bolt A
Artikel Nummer:
Y-3BL03000
BildNr:
9
4.95 €
für EU incl. MwSt., zzgl. Versand
Der Artikel wurde in den Einkaufswagen gelegt!
sofort Lieferbar
Hier finden Sie die Ersatzteilzeichnung für Shimano WH Wheels - Laufräder WH-MT500-CL-R-275 Rear Wheel (8/9/10/MTB 11-speed). Wählen Sie das benötigte Ersatzteil aus der Ersatzteilliste Ihres Shimano Gerätes aus und bestellen Sie einfach online. Viele Shimano Ersatzteile halten wir ständig in unserem Lager für Sie bereit.










