Zurück zu
Solo
>
Rasenmäher
>
Aufsitzmäher / Rasentraktoren
>
555 / 555 Hydro
>
2001
>
AUFFANGSACK
Ersatzteillisten für Solo Rasenmäher AUFFANGSACK
Pos.
Bezeichnung
Ersatzteilnummer
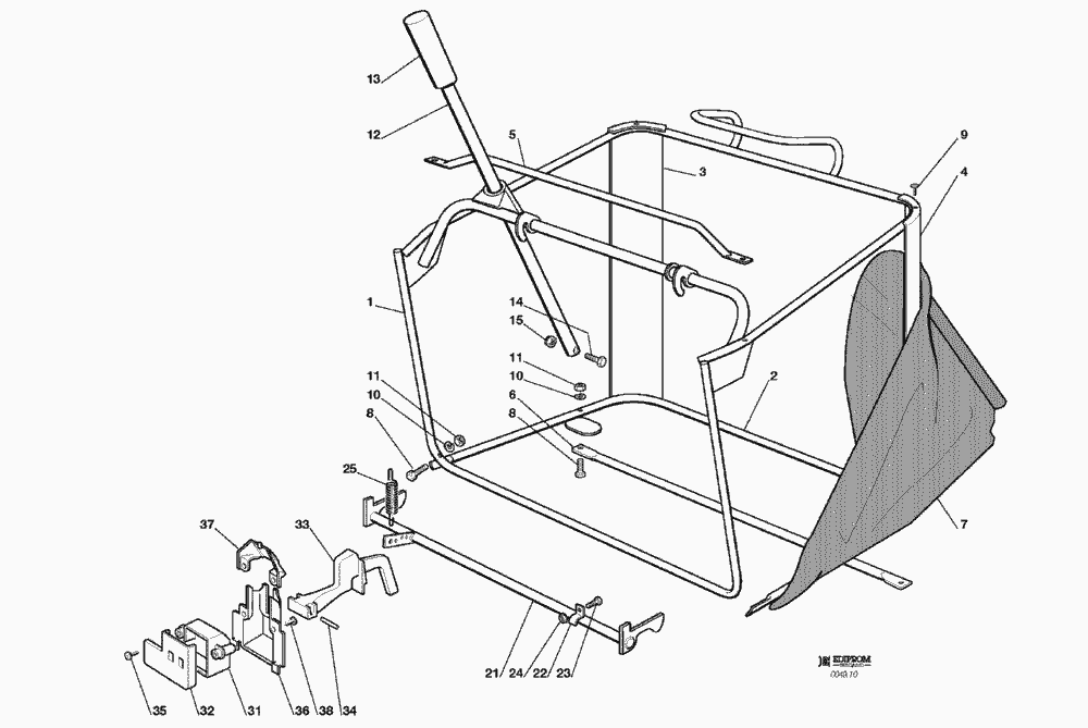
1
OBERERRAHMEN
82800051/0
2
UNTERERRAHMEN
82800002/2
3
RECHTER HALTER
25032001/1
4
LINKER HALTER
25032002/1
5
VORDERGRIFF
82394001/1
6
OBERE VERSTAERKUNG
82650038/0
7
SACK
82106000/2
8
SCHRAUBE
12792099/0
9
SCHRAUBE
12729601/0
10
GROWER
12582101/0
11
MUTTER
12292100/0
12
STANGE
25869029/1
13
GRIFF
25394508/0
14
SCHRAUBE
12792099/0
15
MUTTER
12154510/0
21
KUPPLUNGSTANGE
82000483/0
22
BRIDE
25774220/0
23
SCHRAUBE
12791200/0
24
MUTTER
12292102/0
25
FEDER
25430210/0
31
SCHUTZ
25600041/0
32
SCHUTZDEKEL
25600042/0
33
HEBEL
25318124/0
34
STIFT
12400030/0
35
SCHRAUBE
12728510/0
36
SCHUTZ
25600047/0
37
SCHUTZDEKEL
25600048/0
38
SCHRAUBE
12728450/0
Gebrauchsanweisungen
Solo
Pflanzenschutzgeräte
Motorsägen
Motorsensen
Motorhacken
Balkenmäher
Vertikutierer
Rasenmäher
Aufsitzmäher / Rasentraktoren
576 / 576 Hydro
575 / 575 Hydro
572 / 572 Hydro
570 / 570 Hydro
562 Hydro
560 / 560 Hydro
557
556
555 / 555 Hydro
2004
2003
2002
2001
KLEBZETTEL
ZUBEHOERE NACH ANFRAGE
ELEKTRISCHETEILE TC hy. / TCR hy. / TCP hy.
ELEKTRISCHETEILE TC / TCR / TCP
AUFFANGSACK
SCHNEIDWERKZEUG (2)
SCHNEIDWERKZEUG (1)
SCHNEIDWERKZEUG AUFHEBESATZ
GETRIEBE TC hy. / TCR hy. / TCP hy.
GETRIEBE TC / TCR / TCP
MOTOR 15 HP TECUMSEH
MOTOR 13 HP TECUMSEH
MOTOR 18 - 20 - 22 HP B&S (TC hy. / TCR hy. / TCP hy.)
MOTOR 15 - 15,5 - 16 - 17 HP B&S
MOTOR 10,5 - 12 - 12,5 - 13 HP B&S
GETRIEBE UND BREMSE ANTRIEB TC hy. / TCR hy. / TCP hy.
BREMSE UND WECHSEL ANTRIEB TC / TCR / TCP
LENKGETRIEBE
KARROSSERIE TCR / TCR hy.
KARROSSERIE TCP / TCP hy.
KARROSSERIE TC / TC hy.
RAHMENSATZ
2000
1999
555 PM
Benzin-Antriebs-Mäher
Benzin-Schiebe-Mäher
Elektro Rasenmäher
Blasgeräte
Multimot
Impressum
(C) by motoruf