Zurück zu
Solo
>
Pflanzenschutzgeräte
>
Motor Rückenspritzen
>
432
>
ET 10/2002 Druck 9 432 700
>
Benzintank
Ersatzteillisten für Solo Pflanzenschutzgeräte Benzintank
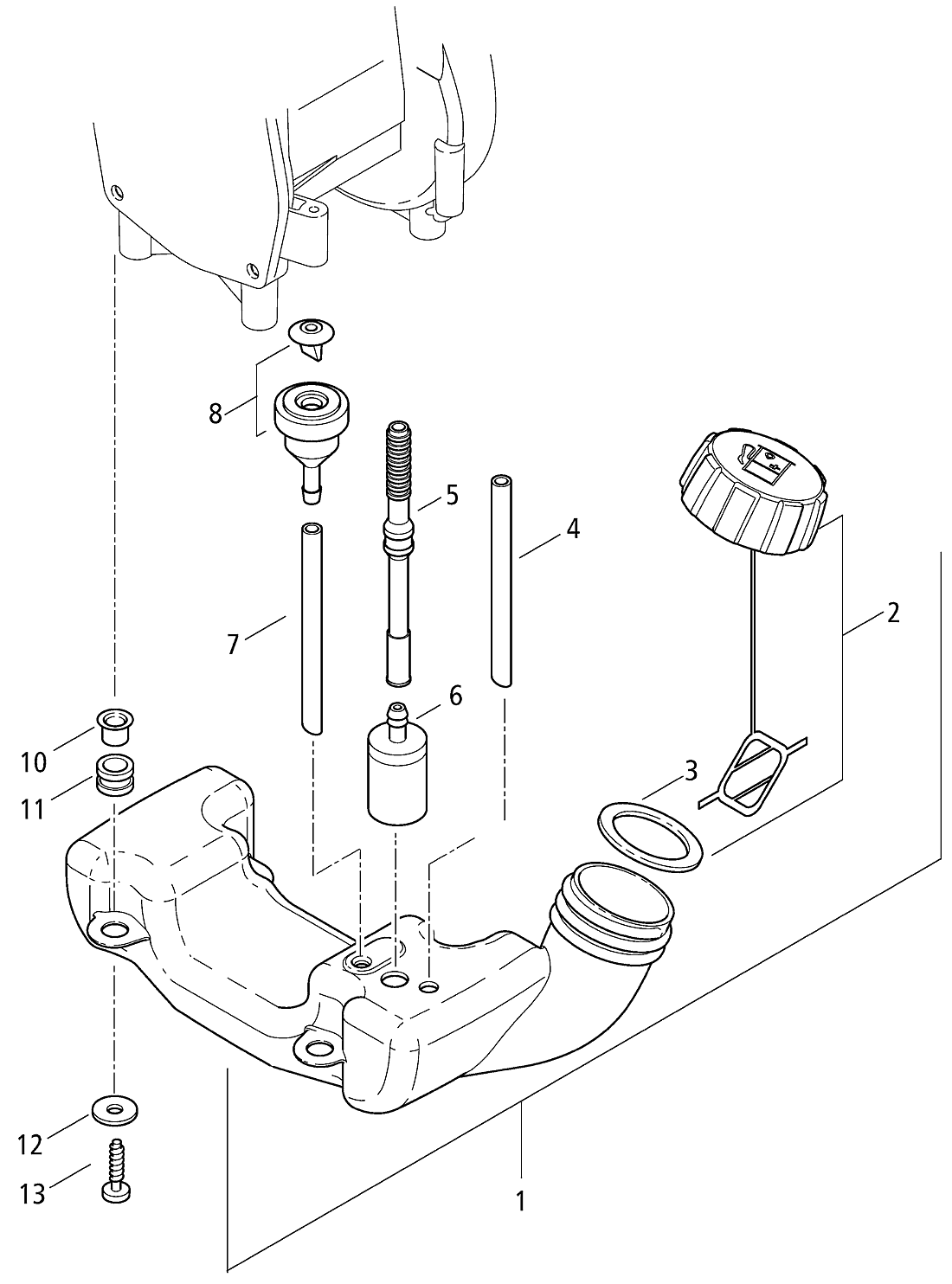
Pos.
Bezeichnung
Ersatzteilnummer
1
Benzintank enth. ( -> 1-8
2700104
2
Tankverschluss enth. ( -> 9, 10
2700187
3
Dichtung 30,5x40,8x2 mm <- )
0061330
4
Schlauch 3x1,5x85 mm Primerrücklauf
0064419
5
Schlauch 3x103 mm Kraftstoff
4063253
6
Filter Benzinsucher
2700416
7
Schlauch 3x1,5x85 mm Primerrücklauf
0064419
8
Entlüftungsstutzen
2700405
10
Rohrnieten 8x0,75x7 mm
0044285
11
Dämpfungsgummi <- )
0094197
12
Scheibe 5,3 mm
0030102
13
Linsenschraube 5x20 mm
0018363
Gebrauchsanweisungen
Solo
Pflanzenschutzgeräte
Druckspritzen
Rückenspritzen
Motor Rückenspritzen
422
432
ET 10/2002 Druck 9 432 700
Motor, Kurbelwelle
Luftfilter, Vergaser, Auspuff
Zündung, Gaszug
Benzintank
Lüfterdeckel
Tragegestell
Behälter, Tragegurt
Spritzrohr
Ventil
Pumpe
Druckvorlage (PDF-892 KB)
Sprühgeräte
Fahrbare Sprühgeräte
Granulat-Streuer
Motorsägen
Motorsensen
Motorhacken
Balkenmäher
Vertikutierer
Rasenmäher
Blasgeräte
Multimot
Impressum
(C) by motoruf