Zurück zu
Solo
>
Pflanzenschutzgeräte
>
Motor Rückenspritzen
>
432
>
ET 10/2002 Druck 9 432 700
>
Spritzrohr
Ersatzteillisten für Solo Pflanzenschutzgeräte Spritzrohr
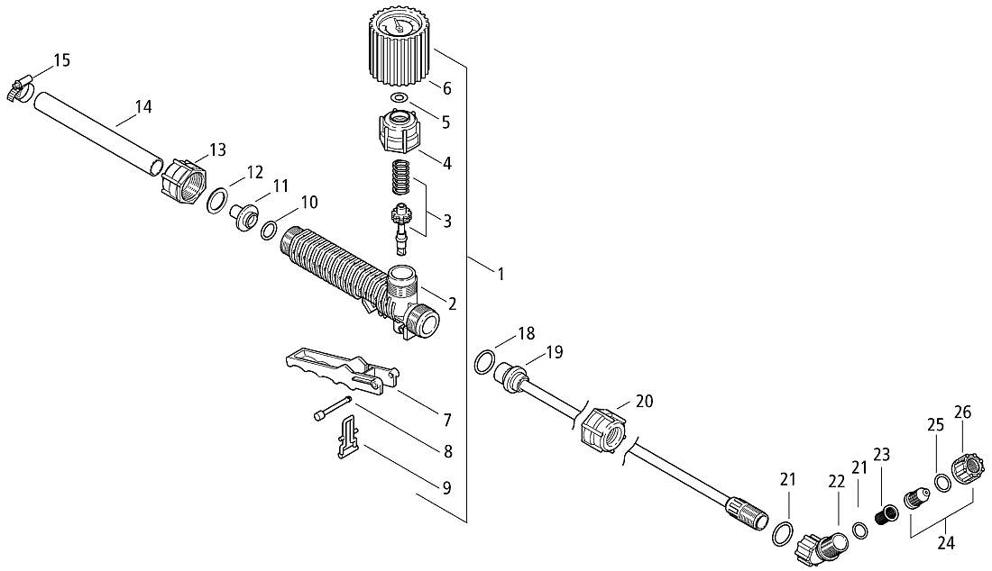
Pos.
Bezeichnung
Ersatzteilnummer
1
HANDVENTIL M.HALTEB.+MAN.0-11
4800175
2
Hahngehäuse
4074331
3
REP.SET.HANDVENTIL4800170+
0610402
4
MU.R3/4"/R1/4"ÜW
4074338
5
O.RING5X3NBR/PERB 70SH.CA.
0062249
6
Manometer mit Schutz
4900622
7
HANDHEBEL SWZ.
4074335
8
BOLZEN4,8X26,5 PP=MAT.SWZ.
4074295
9
HALTEBUEGEL RT.
4074329
10
O.RING10X3NBR 70SH.
0062271
11
KLEMMSTUECK
4074500
12
Scheibe 17x24x1 mm
0031347
13
Überwurfmutter R 3/4""
4074987
14
SCHLAUCH10X3XMT.PVC+GEW.18BAR
0064234
15
Schelle12/22x9 mm
0066664
18
O.RING16X3NBR/PERB 70SH.CA.
0062258
19
SPRITZROHR500MS
4900421
20
MU.R3/4"/17,5ÜW PP=MAT.SWZ
4074337
21
O.RING10X2NBR/PERB 70SH.
0062115
22
WINKELSTUECK R3/8"SWZ.
4074527
23
Filtereinsatz
4074922
24
DUESE HOCHSTRAHL.1,5 MS VS.SKI
4900206
25
O.RING12X2NBR/PERB 70SH.CA.
0062106
26
MU.R3/8"X12,8ÜW. SWZ.
4074148
Gebrauchsanweisungen
Solo
Pflanzenschutzgeräte
Druckspritzen
Rückenspritzen
Motor Rückenspritzen
422
432
ET 10/2002 Druck 9 432 700
Motor, Kurbelwelle
Luftfilter, Vergaser, Auspuff
Zündung, Gaszug
Benzintank
Lüfterdeckel
Tragegestell
Behälter, Tragegurt
Spritzrohr
Ventil
Pumpe
Druckvorlage (PDF-892 KB)
Sprühgeräte
Fahrbare Sprühgeräte
Granulat-Streuer
Motorsägen
Motorsensen
Motorhacken
Balkenmäher
Vertikutierer
Rasenmäher
Blasgeräte
Multimot
Impressum
(C) by motoruf