Zurück zu
Solo
>
Rasenmäher
>
Aufsitzmäher / Rasentraktoren
>
576 / 576 Hydro
>
570 PM
>
ELEKTRISCHETEILE
Ersatzteillisten für Solo Rasenmäher ELEKTRISCHETEILE
Pos.
Bezeichnung
Ersatzteilnummer
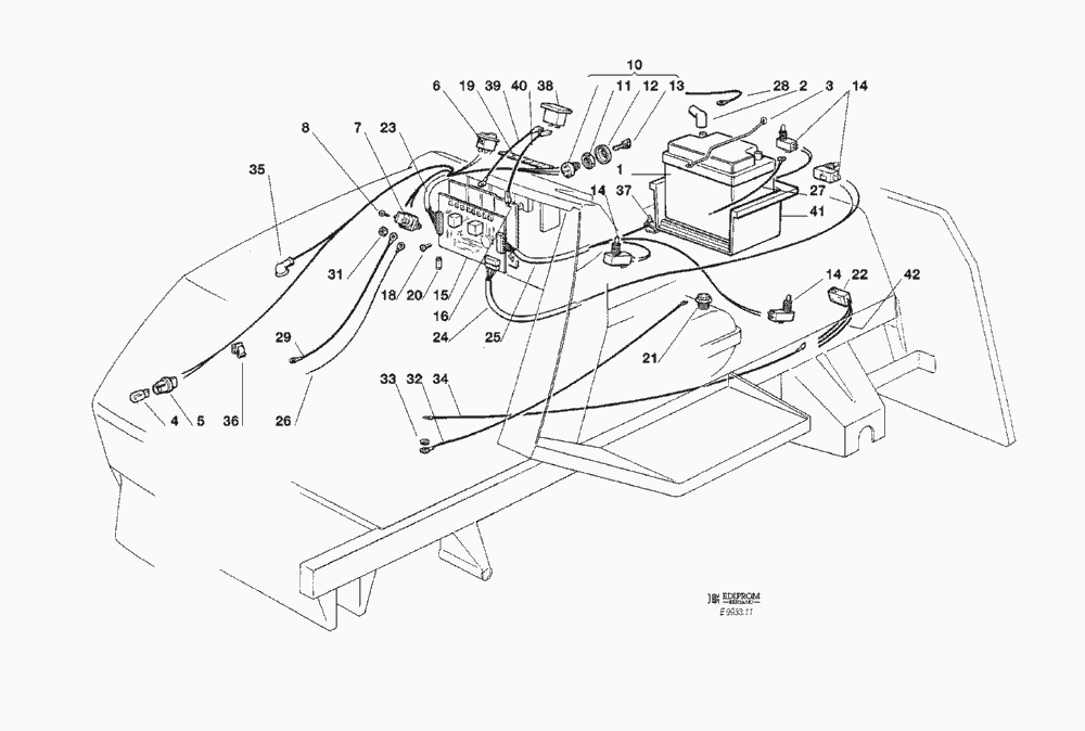
1
BATTERIE
18120002/1
2
STECKER
18564862/0
3
FEDER
25430200/0
4
LAMPENFASSUN
18459100/0
5
SCHEINWERFERLAMPE
33500030/0
6
LICHTEN
18450060/0
7
ANLASSRELAIS
18736110/0
8
SCHRAUBE
12735110/0
10
SCHALTER
18450065/1
11
NUTMUTTER
18400861/0
12
NUTMUTTER SCHUTZ
18565351/0
13
SCHLÜSSEL FÜR START
18210016/0
14
MIKRO
19410603/1
15
ELEKTRONISCHE KARTE 6 ANGABEN
25722406/0
15
ELEKTRONISCHE KARTE 8 ANGABEN
25722407/0
16
KARTESCHUTZ
25600007/0
16
KARTESCHUTZ
25600009/0
18
SCHRAUBE
12735105/0
19
KONTROLLTAFEL (6 ANGABEN)
25420000/1
19
KONTROLLTAFEL (8 ANGABEN)
25420001/1
20
SICHERUNG
33340033/0
21
ANTRIEB SCHALTER
19410604/0
22
VOLLKORB VORRICHTUNG
19410605/1
23
KABELSATZ
82040024/0
23
KABELSATZ
82040025/0
24
KABELSATZ
82040004/1
24
KABELSATZ
82040005/2
25
KABELSATZ
82040029/1
25
KABELSATZ
82040028/1
26
KABEL
25065003/0
27
KABEL
25065004/0
28
KABELSATZ
25065001/0
29
KABELSATZ
25065002/0
31
MUTTER
12360352/0
32
KABEL
25065005/0
33
SCHEIBE
12540260/0
34
KABEL
25065011/0
35
STECKER
18564861/0
36
KABELBEFESTIGUNG
33320505/0
37
KABELBEFESTIGUNG
33320506/0
38
BETRIEBSSTUNDEZÄHLER
18230000/0
39
KABEL (TCP)
25065009/0
40
KABEL (TCP)
25065010/1
41
BATTERIE STÜTZE
25785010/0
42
KABEL
25065023/0
Gebrauchsanweisungen
Solo
Pflanzenschutzgeräte
Motorsägen
Motorsensen
Motorhacken
Balkenmäher
Vertikutierer
Rasenmäher
Aufsitzmäher / Rasentraktoren
576 / 576 Hydro
2004
2003
2002
2001
2000
1999
570 PM
ELEKTRONISCHE KARTE MIT BUZZER
ELEKTRONISCHE KARTE MIT BUZZER
ELEKTRONISCHE KARTE MIT BUZZER
KLEBZETTEL
VORRICHTUNG FÜR AUSWURFSCHUTZ
AUFFANGSACK
ELEKTRISCHETEILE
SCHNEIDWERKZEUG (1)
SCHNEIDWERKZEUG (2)
GETRIEBE
SCHNEIDWERKZEUG AUFHEBESATZ
MOTOR
MOTOR
MOTOR
MOTOR
BREMSE UND WECHSEL ANTRIEB
MOTOR
LENKGETRIEBE
KONSOLE UND SITZ
KARROSSERIE UND GEHÄUSE
575 / 575 Hydro
572 / 572 Hydro
570 / 570 Hydro
562 Hydro
560 / 560 Hydro
557
556
555 / 555 Hydro
Benzin-Antriebs-Mäher
Benzin-Schiebe-Mäher
Elektro Rasenmäher
Blasgeräte
Multimot
Impressum
(C) by motoruf