Zurück zu
Solo
>
Rasenmäher
>
Aufsitzmäher / Rasentraktoren
>
576 / 576 Hydro
>
570 PM
>
MOTOR
Ersatzteillisten für Solo Rasenmäher MOTOR
Pos.
Bezeichnung
Ersatzteilnummer
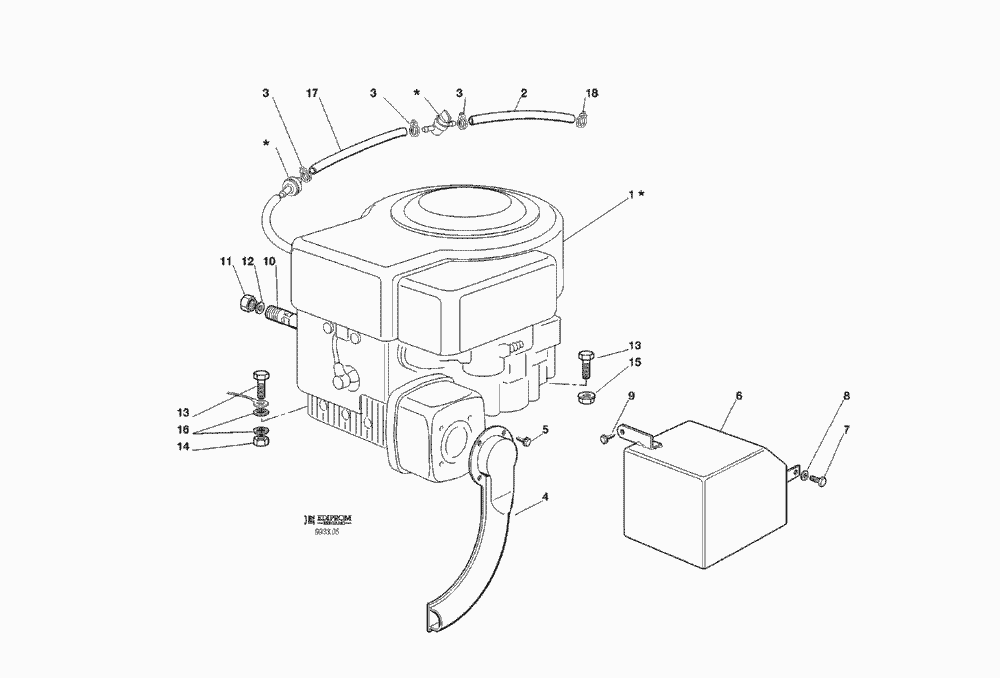
1
MOTOR
MOTOR
2
VERBINDUNGSROHR
25869016/0
3
KABELBEFESTIGUNG
18375051/1
4
AUSPUFFANSCHLUSS
82640001/1
5
SCHRAUBE
12735106/0
6
AUSPUFFSCHUTZ
82598001/0
7
SCHRAUBE
12735510/0
8
SCHEIBE
12540260/0
9
SCHRAUBE
12735104/0
10
ÖL ABFLUSS
25598050/0
11
OELVERSCHLUSS
18737849/0
12
DICHTUNG
18401001/0
13
SCHRAUBE
12691115/0
14
MUTTER
12293200/0
15
MUTTER
12293201/0
16
SCHEIBE
12540260/0
17
VERBINDUNGSROHR
25869006/0
18
KABELBEFESTIGUNG
18375053/0
Gebrauchsanweisungen
Solo
Pflanzenschutzgeräte
Motorsägen
Motorsensen
Motorhacken
Balkenmäher
Vertikutierer
Rasenmäher
Aufsitzmäher / Rasentraktoren
576 / 576 Hydro
2004
2003
2002
2001
2000
1999
570 PM
ELEKTRONISCHE KARTE MIT BUZZER
ELEKTRONISCHE KARTE MIT BUZZER
ELEKTRONISCHE KARTE MIT BUZZER
KLEBZETTEL
VORRICHTUNG FÜR AUSWURFSCHUTZ
AUFFANGSACK
ELEKTRISCHETEILE
SCHNEIDWERKZEUG (1)
SCHNEIDWERKZEUG (2)
GETRIEBE
SCHNEIDWERKZEUG AUFHEBESATZ
MOTOR
MOTOR
MOTOR
MOTOR
BREMSE UND WECHSEL ANTRIEB
MOTOR
LENKGETRIEBE
KONSOLE UND SITZ
KARROSSERIE UND GEHÄUSE
575 / 575 Hydro
572 / 572 Hydro
570 / 570 Hydro
562 Hydro
560 / 560 Hydro
557
556
555 / 555 Hydro
Benzin-Antriebs-Mäher
Benzin-Schiebe-Mäher
Elektro Rasenmäher
Blasgeräte
Multimot
Impressum
(C) by motoruf