Zurück zu
Solo
>
Rasenmäher
>
Aufsitzmäher / Rasentraktoren
>
560 / 560 Hydro
>
2001
>
MOTOR 12 - 12,5 - 13,5 HP B&S
Ersatzteillisten für Solo Rasenmäher MOTOR 12 - 12,5 - 13,5 HP B&S
Pos.
Bezeichnung
Ersatzteilnummer
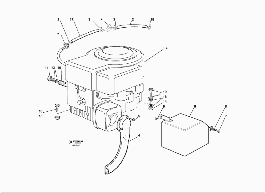
1
MOTOR
MOTOR
2
VERBINDUNGSROHR
25869016/0
3
KABELBEFESTIGUNG
18375051/1
4
AUSPUFFANSCHLUSS
82640001/1
5
SCHRAUBE
12735106/0
6
AUSPUFFSCHUTZ
82598001/0
7
SCHRAUBE
12735510/0
8
SCHEIBE
12540260/0
9
SCHRAUBE
12735104/0
10
ÖL ABFLUSS
25598050/0
11
OELVERSCHLUSS
18737849/0
12
DICHTUNG
18401001/0
13
SCHRAUBE
12691110/0
14
MUTTER
12293200/0
15
MUTTER
12293201/0
16
SCHEIBE
12540260/0
17
VERBINDUNGSROHR
25869006/0
18
KABELBEFESTIGUNG
18375053/0
19
SCHRAUBE
12691115/0
Gebrauchsanweisungen
Solo
Pflanzenschutzgeräte
Motorsägen
Motorsensen
Motorhacken
Balkenmäher
Vertikutierer
Rasenmäher
Aufsitzmäher / Rasentraktoren
576 / 576 Hydro
575 / 575 Hydro
572 / 572 Hydro
570 / 570 Hydro
562 Hydro
560 / 560 Hydro
2004
2003
2002
2001
KLEBZETTEL
ZUBEHOERE NACH ANFRAGE
ELEKTRISCHETEILE J92 hy. / JP92 hy. / JT92 hy. / JR92 hy.
ELEKTRISCHETEILE J92 / JP92 / JT92 / JR92
AUFFANGSACK (2. - BEWEGLICHER TEIL)
AUFFANGSACK (1. - FESTER TEIL)
SCHNEIDWERKZEUG (2)
SCHNEIDWERKZEUG (1)
SCHNEIDWERKZEUG AUFHEBESATZ
GETRIEBE J92 hy. / JP92 hy. / JT92 hy. / JR92 hy.
GETRIEBE J92 / JP92 / JT92 / JR92
MOTOR 15 - 15,5 HP B&S
MOTOR 13 HP TECUMSEH
MOTOR 12 - 12,5 - 13,5 HP B&S
GETRIEBE UND BREMSE ANTRIEB J92 hy. / JP92 hy. / JT92 hy. / JR92 hy.
LENKGETRIEBE
BREMSE UND WECHSEL ANTRIEB J92 / JP92 / JT92 / JR92
KARROSSERIE JR92 / JR92 hy.
KARROSSERIE JT92 / JT92 hy.
KARROSSERIE JP92 / JP92 hy.
KARROSSERIE J92 / J92 hy.
RAHMENSATZ
2000
1999
560 PM
557
556
555 / 555 Hydro
Benzin-Antriebs-Mäher
Benzin-Schiebe-Mäher
Elektro Rasenmäher
Blasgeräte
Multimot
Impressum
(C) by motoruf