Zurück zu
Solo
>
Motorsensen
>
Leichte-Benzimotor-Sensen
>
118
>
ET 04/1996 Druck 9 118 700
>
Werkzeug / Serienausrüstung
Ersatzteillisten für Solo Motorsensen Werkzeug / Serienausrüstung
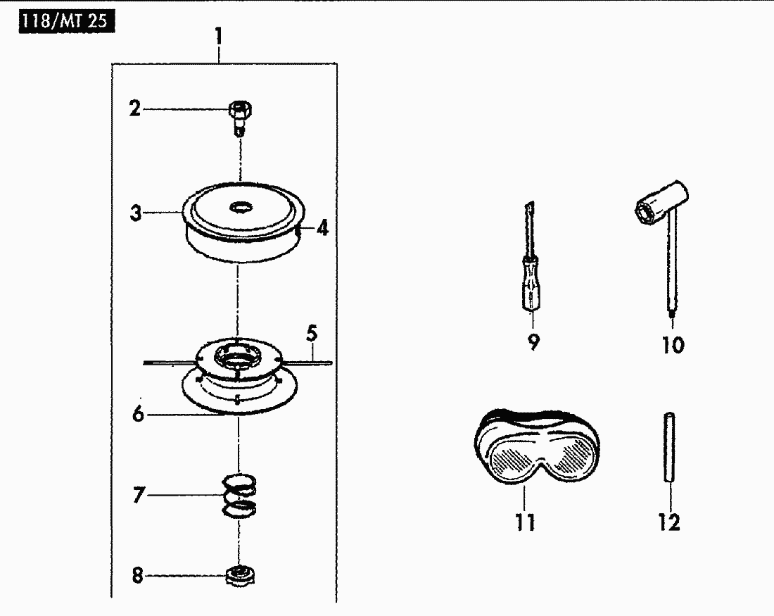
Pos.
Bezeichnung
Ersatzteilnummer
1
FADENKOPF RL2MF.M10X1,25 MAN
6900279
2
Adapter M10x1,25 RE
6032686
3
GEHAEUSE FADENKOPF 2MF
6074996
4
FADENFUEHRUNG5/10/16X9AL.
6031992
5
Schneidefaden, Ø 2,3mm, 15 m
0063184
6
DECKEL FADENKOPF
6074987
7
FEDER 2X28X30 DRK.
0070284
8
MU.M16 FLG.
0028151
9
Schraubendreher 3
0080494
10
Kombischlüssel SW 19/T25
0080509
11
Schutzbrille
6900691
12
STIFT6X80 MONTAGE.
0080496
Gebrauchsanweisungen
Solo
Pflanzenschutzgeräte
Motorsägen
Motorsensen
Professionelle Motorsensen
Semiprofessionelle Motorsensen
Leichte-Benzimotor-Sensen
128
126
124
120
MT 25
MS 25
119
118
ET 06/1998 Druck 9 118 701
ET 04/1996 Druck 9 118 700
Zubehör
Zubehör
Werkzeug / Serienausrüstung
Werkzeug / Serienausrüstung
Getriebe / Schutz
Griffrohr/ Gasbetätigung
Schaftrohr / Schutz
Griff / Gasbetätigung
Motor / Gehäuse
129
121
117
106 L / 106 B / 106 LR / 106 BR
105 L
Elektromotor-Sensen
Motorhacken
Balkenmäher
Vertikutierer
Rasenmäher
Blasgeräte
Multimot
Impressum
(C) by motoruf