Shimano EW-7970 -2901A DURA-ACE Electric Cable Ersatzteile
EW-7970 -2901A DURA-ACE Electric Cable EW Elektrische Kabel

Hier finden Sie die Ersatzteilzeichnung für Shimano EW Elektrische Kabel EW-7970 -2901A DURA-ACE Electric Cable. Wählen Sie das benötigte Fahrrad-Ersatzteil aus der Ersatzteilliste Ihres Shimano Fahrrads aus und bestellen Sie einfach online. Viele Shimano Ersatzteile halten wir ständig in unserem Lager für Sie bereit.
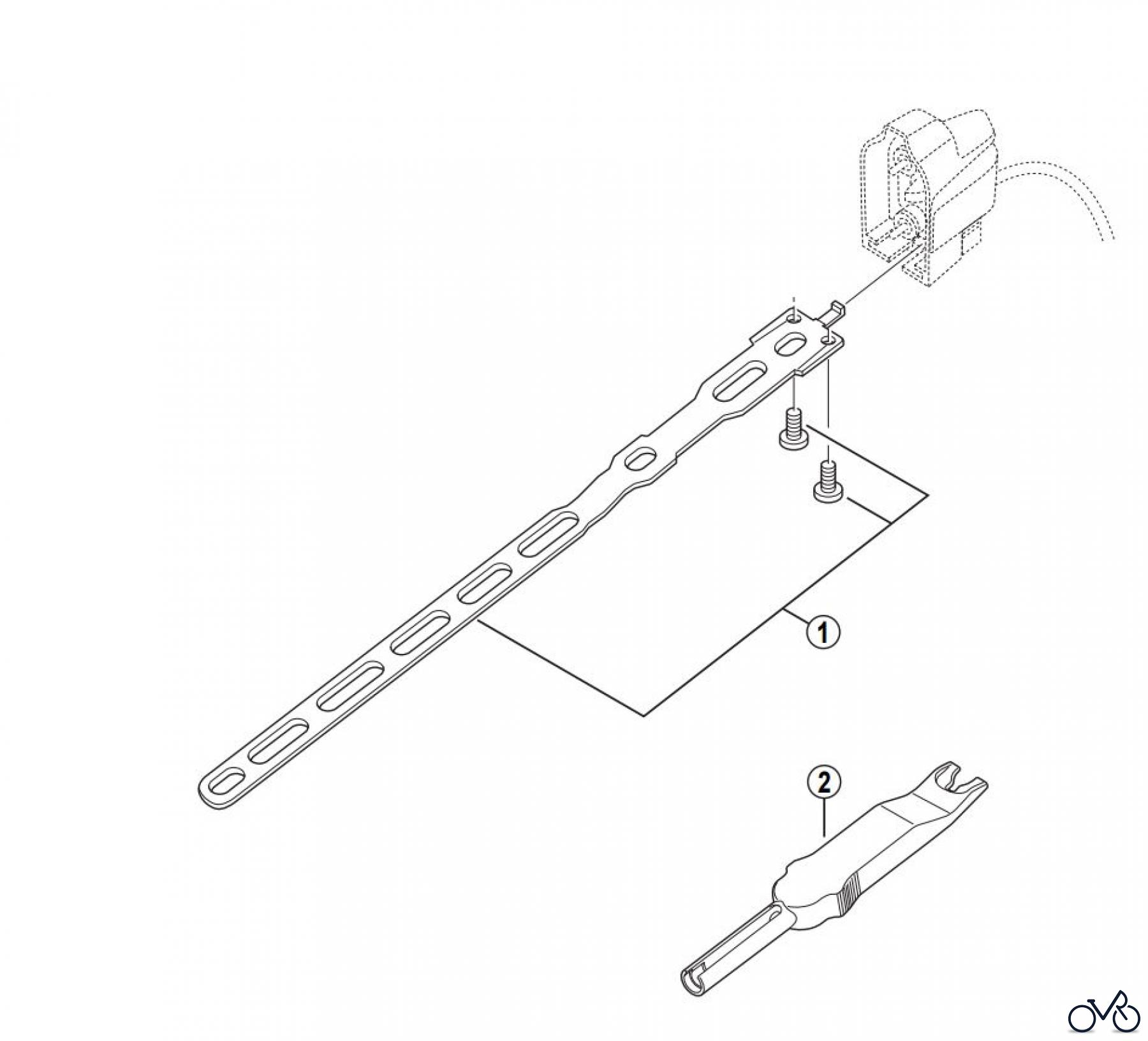
| BildNr | Artikel Nummer | Bezeichnung | |
| 01 | Y-7DE98010 | Base A & Bolts (M3 x 6) Y7DE98010 | |
| 02 | Y-7CY02000 | TL-EW01 Plug Tool Y7CY02000 | |


Qualitätsmanagement
Informieren Sie uns, wenn Sie einen Fehler gefunden haben.
