Shimano RD-M820-3391B SAINT Rear Derailleur (10-speed) Ersatzteile
RD-M820-3391B SAINT Rear Derailleur (10-speed) RD Rear Derailleur - Schaltwerk

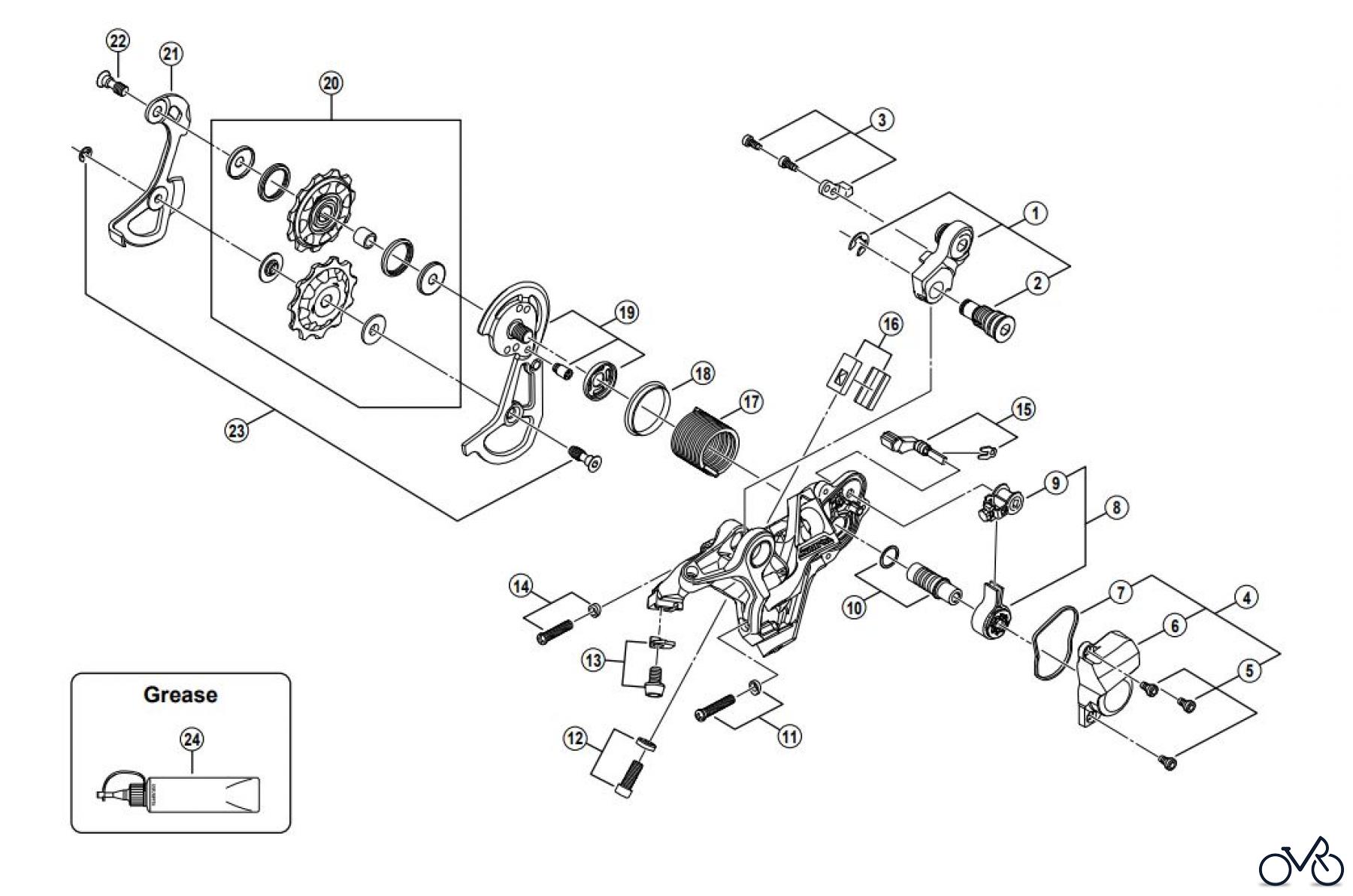
Hier finden Sie die Ersatzteilzeichnung für Shimano RD Rear Derailleur - Schaltwerk RD-M820-3391B SAINT Rear Derailleur (10-speed). Wählen Sie das benötigte Fahrrad-Ersatzteil aus der Ersatzteilliste Ihres Shimano Fahrrads aus und bestellen Sie einfach online. Viele Shimano Ersatzteile halten wir ständig in unserem Lager für Sie bereit.
Häufig benötigte Shimano RD-M820-3391B SAINT Rear Derailleur (10-speed) Ersatzteile

Artikelnummer: Y-5V508400
Suche nach: Y-5V508400
Hersteller: Fahrrad
Shimano Ersatzteil RD-M820-3391B SAINT Rear Derailleur (10-speed)
Suche nach: Y-5V508400
Hersteller: Fahrrad
Shimano Ersatzteil RD-M820-3391B SAINT Rear Derailleur (10-speed)
8.95 €
für EU incl. MwSt., zzgl. Versand


Qualitätsmanagement
Informieren Sie uns, wenn Sie einen Fehler gefunden haben.






