Zurück zu
Solo
>
Motorsägen
>
Semiprofessionelle Motorsägen
>
654 / Farmer 46
>
ET 11/1989 Druck 9 647 714
>
Elektronic
Ersatzteillisten für Solo Motorsägen Elektronic
Pos.
Bezeichnung
Ersatzteilnummer
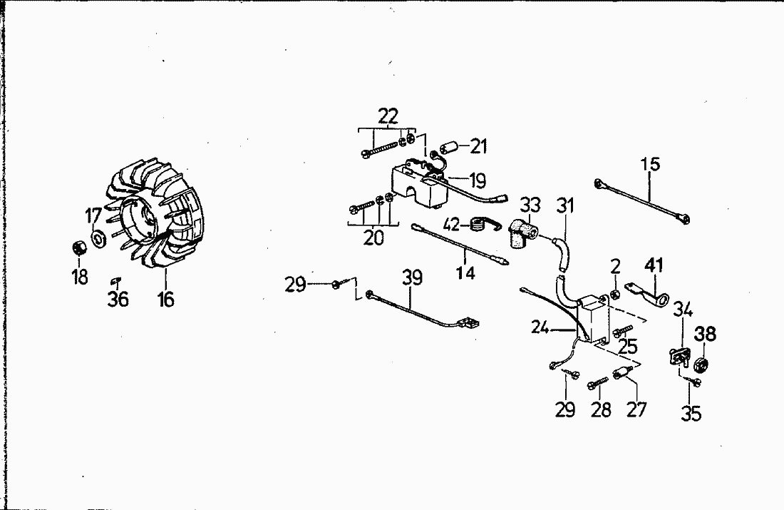
2
6KT.MU.M4 27040 ZN
0020178
14
KABEL153 KURZSCHLUSS.SWZ.
0084565
15
KABEL85 MASSE.SWZ.1
0084509
16
POLRAD VS.
2400228
17
Scheibe 8 DIN 6796
0072145
18
Sechskantmutter M8
0020145
19
ZUENDMODUL PRÜFREX
2300542
20
ZYL.SHR.M5X20 84-5.8Z4-1
0010343
21
HUELSE5,4X9X11DIST.
0033290
22
ZYL.SHR.M5X30 84-5.8Z4-1
0010474
24
ZUENDSPULE PRÜFREX
2300541
25
ZYL.SHR.M4X14 84-4.8
0010290
27
BOLZEN M4/4,7X11,5/16,5GWD.
6032608
28
Zylinder-Schraube M4x18 DIN 84 A
0010208
29
Spax-Schraube 4x13
0018231
31
SCHLAUCH6X1XMT.SILIKON
0064292
33
KERZENSTECKER
0084600
34
SCHALTER KURZSCHLUSS.
2300469
35
ZYL.BL.SHR.3,5X22 7971C.ZN
0010550
36
SCHEIBENFEDER3X3,7 6888C45K
0075101
38
RD.MU.M12X0,75MS+603
0021232
39
KABEL105 MASSE.SWZ.2
0084512
41
KONTAKTBLECH
6043346
42
KONTAKTFEDER
0073385
Gebrauchsanweisungen
Solo
Pflanzenschutzgeräte
Motorsägen
Professionelle Motorsägen
Semiprofessionelle Motorsägen
667 SP
654 / Farmer 46
ET 11/1991 Druck 9 647 715
ET 11/1989 Druck 9 647 714
Vergaser
Kupplung/Ölpumpe/Starter
Elektronic
Bügel/Handgriff/Kettenbremse
Hauptgehäuse
Motor
647
651 SP
644 SP
650
645
639 / 639 Deko
633
Hobby-Motorsägen
Elektrosägen
Motorsensen
Motorhacken
Balkenmäher
Vertikutierer
Rasenmäher
Blasgeräte
Multimot
Impressum
(C) by motoruf