Zurück zu
Solo
>
Rasenmäher
>
Aufsitzmäher / Rasentraktoren
>
576 / 576 Hydro
>
2003
>
GETRIEBE UND BREMSE ANTRIEB (102-122 hydro)
Ersatzteillisten für Solo Rasenmäher GETRIEBE UND BREMSE ANTRIEB (102-122 hydro)
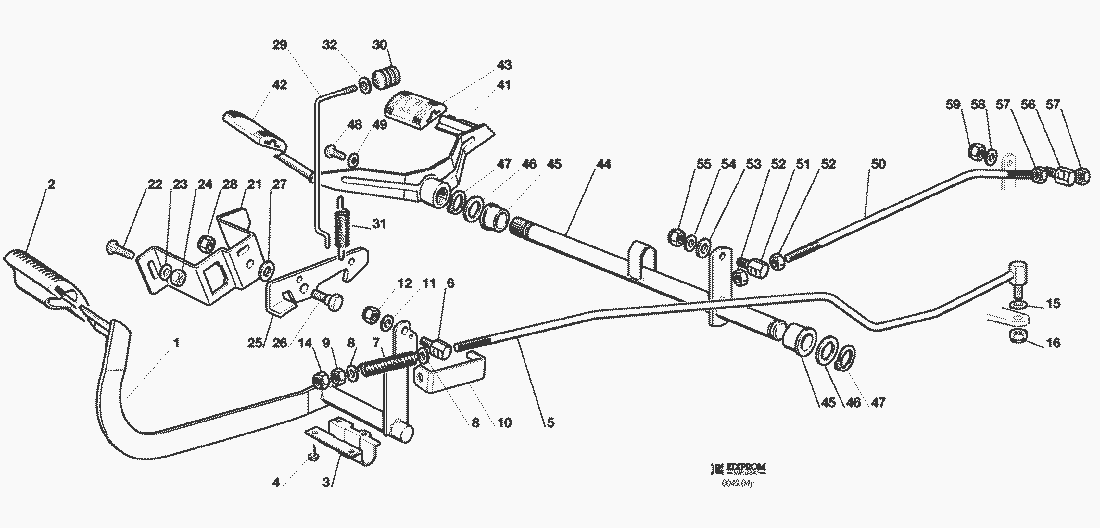
Pos.
Bezeichnung
Ersatzteilnummer
1
PEDAL
82500011/1
2
BRIDEDECKEL
25110267/0
3
PLATTE
25547081/0
4
SCHRAUBE
12731601/0
5
STANGE
82000487/0
6
BOLZEN
25510052/0
7
FEDER
25430236/0
8
SCHEIBE
12521360/0
9
MUTTER
12295200/0
10
BRIDE
25774275/0
11
SCHEIBE
12521350/0
12
MUTTER
12155000/0
14
MUTTER
12156602/0
15
SCHEIBE
12521350/0
16
MUTTER
12155000/0
21
HALTER
25785143/0
22
SCHRAUBE
12815210/0
23
SCHEIBE
12523040/0
24
MUTTER
12154510/0
25
HAKEN
25253001/0
26
BOLZEN
22524970/2
27
SCHEIBE
25670011/0
28
MUTTER
12155000/0
29
STANGE
25033034/0
30
KNOPF
25394509/1
31
FEDER
25430213/0
32
SCHEIBE
12523020/0
41
GETRIEBEPEDAL
82500013/0
42
BRIDEDECKEL VORDE
25110265/0
43
BRIDEDECKEL HINTER
25110266/0
44
ACHSE
82000481/0
45
BÜCHSE
22034523/0
46
SCHEIBE
22672153/0
47
SEEGER
12609260/0
48
SCHRAUBE
12760600/0
49
GROWER
12583501/0
50
STANGE
25033031/0
51
BOLZEN
25510054/0
52
MUTTER
12293200/0
53
SCHEIBE
12521360/0
54
SCHEIBE
12523040/0
55
MUTTER
12154510/0
56
BOLZEN
25510054/0
57
MUTTER
12293200/0
58
SCHEIBE
12523040/0
59
MUTTER
12154510/0
Gebrauchsanweisungen
Solo
Pflanzenschutzgeräte
Motorsägen
Motorsensen
Motorhacken
Balkenmäher
Vertikutierer
Rasenmäher
Aufsitzmäher / Rasentraktoren
576 / 576 Hydro
2004
2003
KLEBZETTEL
ZUBEHOERE NACH ANFRAGE
AUFFANGSACK
ELETRISCHETEILE
SCHNEIDWERKZEUG (2)
SCHNEIDWERKZEUG (2) (102 / 102 hydr.)
SCHNEIDWERKZEUG (1)
SCHNEIDWERKZEUG AUFHEBESATZ
GETRIEBE 102-122 hydro
GETRIEBE 102-122
MOTOR 13 HP TECUMSEH (102)
MOTOR 15 HP TECUMSEH (102/102 hydr.))
MOTOR 15 - 15,5 - 17 - 17,5 HP B&S
MOTOR 18 - 20 - 22 HP B&S (122, 102-122 hydr.)
MOTOR 12 - 12,5 - 13,5 HP B&S (102/102 hydr.)
GETRIEBE UND BREMSE ANTRIEB (102-122 hydro)
BREMSE UND WECHSEL ANTRIEB (102-122)
LENKGETRIEBE
KARROSSERIE (TCR)
KARROSSERIE (TCB)
KARROSSERIE (TCP)
KARROSSERIE (TC)
RAHMENSATZ
2002
2001
2000
1999
570 PM
575 / 575 Hydro
572 / 572 Hydro
570 / 570 Hydro
562 Hydro
560 / 560 Hydro
557
556
555 / 555 Hydro
Benzin-Antriebs-Mäher
Benzin-Schiebe-Mäher
Elektro Rasenmäher
Blasgeräte
Multimot
Impressum
(C) by motoruf