Zurück zu
Solo
>
Rasenmäher
>
Aufsitzmäher / Rasentraktoren
>
576 / 576 Hydro
>
2003
>
MOTOR 12 - 12,5 - 13,5 HP B&S (102/102 hydr.)
Ersatzteillisten für Solo Rasenmäher MOTOR 12 - 12,5 - 13,5 HP B&S (102/102 hydr.)
Pos.
Bezeichnung
Ersatzteilnummer
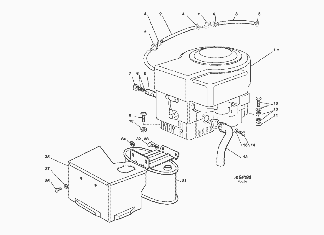
1
MOTOR
MOTOR
2
VERBINDUNGSROHR
25869006/0
3
VERBINDUNGSROHR
25869016/0
4
KABELBEFESTIGUNG
18375051/1
5
KABELBEFESTIGUNG
18375053/0
6
ÖL ABFLUSS
25598050/0
7
OELVERSCHLUSS
18737849/0
8
DICHTUNG
18401001/0
9
SCHRAUBE
12691100/0
10
SCHEIBE
12540260/0
11
MUTTER
12293200/0
12
MUTTER
12293201/0
13
VERBINDUNGSROHR FÜR ABGASUNG
18738223/0
14
SCHRAUBE
12735530/0
15
GROWER
12583500/0
16
SCHRAUBE
12691115/0
31
AUSPUFF
82750005/0
32
SCHRAUBE
12793102/0
33
SCHEIBE
12540260/0
34
MUTTER
12360425/0
35
AUSPUFFSCHUTZ
82598025/0
36
SCHRAUBE
12792611/0
37
GROWER
12583500/0
Gebrauchsanweisungen
Solo
Pflanzenschutzgeräte
Motorsägen
Motorsensen
Motorhacken
Balkenmäher
Vertikutierer
Rasenmäher
Aufsitzmäher / Rasentraktoren
576 / 576 Hydro
2004
2003
KLEBZETTEL
ZUBEHOERE NACH ANFRAGE
AUFFANGSACK
ELETRISCHETEILE
SCHNEIDWERKZEUG (2)
SCHNEIDWERKZEUG (2) (102 / 102 hydr.)
SCHNEIDWERKZEUG (1)
SCHNEIDWERKZEUG AUFHEBESATZ
GETRIEBE 102-122 hydro
GETRIEBE 102-122
MOTOR 13 HP TECUMSEH (102)
MOTOR 15 HP TECUMSEH (102/102 hydr.))
MOTOR 15 - 15,5 - 17 - 17,5 HP B&S
MOTOR 18 - 20 - 22 HP B&S (122, 102-122 hydr.)
MOTOR 12 - 12,5 - 13,5 HP B&S (102/102 hydr.)
GETRIEBE UND BREMSE ANTRIEB (102-122 hydro)
BREMSE UND WECHSEL ANTRIEB (102-122)
LENKGETRIEBE
KARROSSERIE (TCR)
KARROSSERIE (TCB)
KARROSSERIE (TCP)
KARROSSERIE (TC)
RAHMENSATZ
2002
2001
2000
1999
570 PM
575 / 575 Hydro
572 / 572 Hydro
570 / 570 Hydro
562 Hydro
560 / 560 Hydro
557
556
555 / 555 Hydro
Benzin-Antriebs-Mäher
Benzin-Schiebe-Mäher
Elektro Rasenmäher
Blasgeräte
Multimot
Impressum
(C) by motoruf