Zurück zu
Solo
>
Rasenmäher
>
Aufsitzmäher / Rasentraktoren
>
555 / 555 Hydro
>
2003
>
ELETRISCHETEILE
Ersatzteillisten für Solo Rasenmäher ELETRISCHETEILE
Pos.
Bezeichnung
Ersatzteilnummer
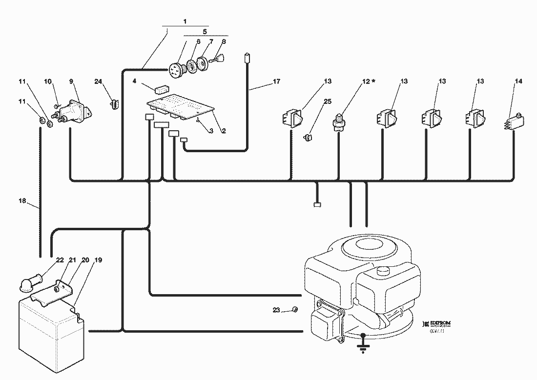
1
KABELSATZ
84040117/0
2
ELEKTRONISCHE KARTE
25722415/0
3
SCHRAUBE
12727810/0
4
SICHERUNG
33340033/0
5
SCHALTER
18450065/1
6
NUTMUTTER
18400861/0
7
NUTMUTTER SCHUTZ
18565351/0
8
SCHLÜSSEL FÜR START
18210016/0
9
ANLASSRELAIS
18736110/0
10
SCHRAUBE
12735110/0
11
MUTTER
12360352/0
12
ANTRIEB SCHALTER
ANTRIEB SCHALTER
13
MIKRO
19410606/0
14
VOLLKORB VORRICHTUNG
19410605/1
17
KABEL
25065014/1
18
KABEL
27065050/0
19
BATTERIE
18120002/1
20
BRIDE
27772099/0
21
MUTTER
12155000/0
22
STECKER
18564861/1
23
MUTTER
12361005/0
24
KABELBEFESTIGUNG
33320506/0
25
KABELBEFESTIGUNG
33320504/0
Gebrauchsanweisungen
Solo
Pflanzenschutzgeräte
Motorsägen
Motorsensen
Motorhacken
Balkenmäher
Vertikutierer
Rasenmäher
Aufsitzmäher / Rasentraktoren
576 / 576 Hydro
575 / 575 Hydro
572 / 572 Hydro
570 / 570 Hydro
562 Hydro
560 / 560 Hydro
557
556
555 / 555 Hydro
2004
2003
KLEBZETTEL
ZUBEHOERE NACH ANFRAGE
ELETRISCHETEILE
AUFFANGSACK
SCHNEIDWERKZEUG (2)
SCHNEIDWERKZEUG (1)
SCHNEIDWERKZEUG AUFHEBESATZ
GETRIEBE F72 hydro
GETRIEBE F72
MOTOR 10 HP TECUMSEH
MOTOR 10-10,5-11-11,5-12-12,5 HP B&S
GETRIEBE UND BREMSE ANTRIEB
BREMSE UND WECHSEL ANTRIEB
LENKGETRIEBE
KARROSSERIE
RAHMENSATZ
2002
2001
2000
1999
555 PM
Benzin-Antriebs-Mäher
Benzin-Schiebe-Mäher
Elektro Rasenmäher
Blasgeräte
Multimot
Impressum
(C) by motoruf