Zurück zu
Solo
>
Rasenmäher
>
Aufsitzmäher / Rasentraktoren
>
555 / 555 Hydro
>
2003
>
SCHNEIDWERKZEUG AUFHEBESATZ
Ersatzteillisten für Solo Rasenmäher SCHNEIDWERKZEUG AUFHEBESATZ
Pos.
Bezeichnung
Ersatzteilnummer
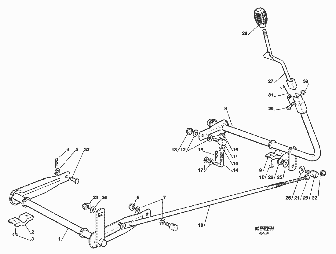
1
ACHSE
84001025/0
2
PLATTE
27546015/1
3
SCHRAUBE
12731350/0
4
SPLIT
24487997/0
5
SCHEIBE
25670008/1
6
MUTTER
12156602/0
7
SCHEIBE
25670008/1
8
ACHSE
84001005/1
9
PLATTE
27546015/1
10
SCHRAUBE
12731350/0
11
BOLZEN
25510007/1
12
SCHEIBE
25670008/1
13
MUTTER
12156602/0
14
SPANNSTANGE
25840003/2
15
MUTTER
12295200/0
16
MUTTER
12156602/0
17
SCHEIBE
25670008/1
18
SPLIT
24487997/0
19
STAB
84002051/0
20
BOLZEN
25510040/1
21
MUTTER
12293200/0
22
MUTTER
12155000/0
23
PLATTE
12436050/0
24
SCHEIBE
25670011/0
25
SCHEIBE
25670011/0
26
MUTTER
12155000/0
27
HEBEL
84317065/1
28
WECHSEL
25394510/0
29
SCHRAUBE
12674700/0
30
MUTTER
12154510/0
31
FEDER
27430555/0
32
BOLZEN
27510114/0
Gebrauchsanweisungen
Solo
Pflanzenschutzgeräte
Motorsägen
Motorsensen
Motorhacken
Balkenmäher
Vertikutierer
Rasenmäher
Aufsitzmäher / Rasentraktoren
576 / 576 Hydro
575 / 575 Hydro
572 / 572 Hydro
570 / 570 Hydro
562 Hydro
560 / 560 Hydro
557
556
555 / 555 Hydro
2004
2003
KLEBZETTEL
ZUBEHOERE NACH ANFRAGE
ELETRISCHETEILE
AUFFANGSACK
SCHNEIDWERKZEUG (2)
SCHNEIDWERKZEUG (1)
SCHNEIDWERKZEUG AUFHEBESATZ
GETRIEBE F72 hydro
GETRIEBE F72
MOTOR 10 HP TECUMSEH
MOTOR 10-10,5-11-11,5-12-12,5 HP B&S
GETRIEBE UND BREMSE ANTRIEB
BREMSE UND WECHSEL ANTRIEB
LENKGETRIEBE
KARROSSERIE
RAHMENSATZ
2002
2001
2000
1999
555 PM
Benzin-Antriebs-Mäher
Benzin-Schiebe-Mäher
Elektro Rasenmäher
Blasgeräte
Multimot
Impressum
(C) by motoruf