Zurück zu
Solo
>
Rasenmäher
>
Aufsitzmäher / Rasentraktoren
>
570 / 570 Hydro
>
1999
>
BREMSE UND WECHSEL ANTRIEB (TC102 / TC102)
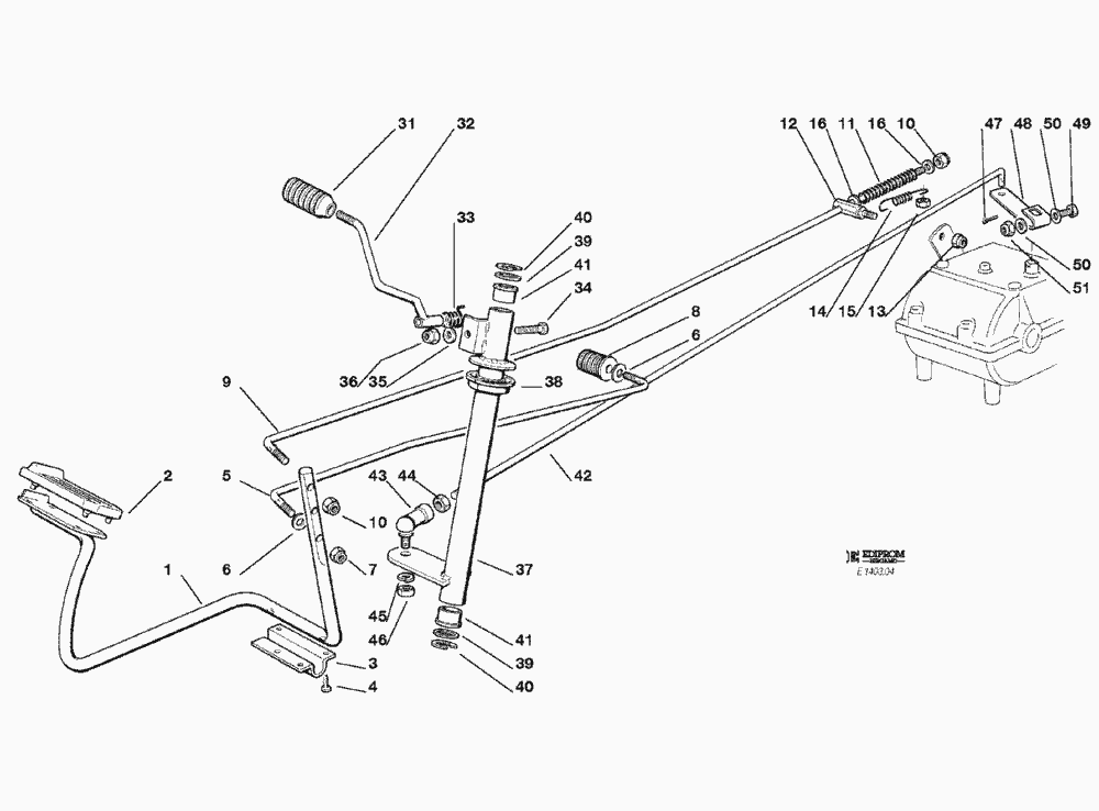
Ersatzteillisten für Solo Rasenmäher BREMSE UND WECHSEL ANTRIEB (TC102 / TC102)
Pos.
Bezeichnung
Ersatzteilnummer
1
BREMSPEDAL
82500001/0
2
BRIDEDECKEL
25110269/0
3
PLATTE
25547012/0
4
SCHRAUBE
12731601/0
5
STANGE
25033005/0
6
SCHEIBE
12523060/0
7
MUTTER
12155000/0
8
KNOPF
25394500/1
9
BREMSE KONTROLLESATZ
25033007/0
10
MUTTER
12154510/0
11
FEDER
25430212/1
12
BOLZEN
25510017/0
13
MUTTER
12155000/0
14
FEDER
25430213/0
15
MUTTER
12155000/0
16
SCHEIBE
12521330/0
31
WECHSELGETRIEBE
29394505/1
32
DEGETRIEBE HEBEL
82318130/0
33
FEDER
25430225/0
34
SCHRAUBE
12689515/0
35
SCHEIBE
12521330/0
36
MUTTER
12154510/0
37
GAENGESCHALTUNG ROHR
82869005/0
38
BÜCHSE
25040602/0
39
SCHEIBE
25670006/0
40
SPRENGRING
12001000/0
41
BÜCHSE
25040601/0
42
STANGE
25033004/0
43
GELENK
22746601/0
44
MUTTER
12293200/0
45
GROWER
12583500/0
46
MUTTER
12293200/0
47
SPLIT
12141418/0
48
GETRIEBE HEBEL
25318117/0
49
SCHRAUBE
12689500/0
50
SCHEIBE
12521330/0
51
MUTTER
12154510/0
Gebrauchsanweisungen
Solo
Pflanzenschutzgeräte
Motorsägen
Motorsensen
Motorhacken
Balkenmäher
Vertikutierer
Rasenmäher
Aufsitzmäher / Rasentraktoren
576 / 576 Hydro
575 / 575 Hydro
572 / 572 Hydro
570 / 570 Hydro
2004
2003
2002
2001
2000
1999
ELEKTRISCHES SCHEMA 16 - 18 - 20 HP B&S (TC102 hy. / TCP102 hy. / TCP122 hy.)
ELEKTRISCHES SCHEMA 15,5 HP B&S (TC102 hy. / TCP102 hy.)
ELEKTRISCHES SCHEMA 12,5 - 13 HP B&S / 13 - 15 HP TECUMSEH (TC102 hy. / TCP102 hy. / TC122 hy.)
ELEKTRISCHES SCHEMA 16 - 18 - 20 HP B&S (TC102 / TCP102)
ELEKTRISCHES SCHEMA 15,5 HP B&S (TC102 / TCP102)
ELEKTRISCHES SCHEMA 12,5 - 13 HP B&S / 13 - 15 HP TECUMSEH (TC102 / TCP102)
ZUBEHOERE NACH ANFRAGE
ELEKTRISCHETEILE (TC102 hy. / TCP102 hy. / TC122 hy. / TCP122 hy.)
ELEKTRISCHETEILE (TC102 / TCP102)
AUFFANGSACK
SCHNEIDWERKZEUG (2)
AUSHEBEVORRICHTUNG UND VOLLKORBEINRICHTUNG
SCHNEIDWERKZEUG (1)
SCHNEIDWERKZEUG AUFHEBESATZ
GETRIEBE (TC102 hy. / TCP102 hy. / TC122 hy. / TCP122 hy.)
GETRIEBE (TC102 / TCP 102)
MOTOR 15 HP TECUMSEH (TC102 / TC102 hy.)
MOTOR 13 HP TECUMSEH (TC102 / TC102 hy.)
MOTOR 20 HP B&S (TCP122 hy.)
MOTOR 15,5 HP B&S (TC102 / TC102 hy. / TCP102 / TCP102 hy.)
MOTOR 16 - 18 HP B&S (TC102 / TC102 hy. / TCP102 / TCP102 hy. / TCP122 hy.)
MOTOR 12,5 - 13 HP B&S (TC102 / TC102 hy. / TCP102 / TCP102 hy.)
GETRIEBE UND BREMSE ANTRIEB (TC hy. / TCP hy. / TC122 hy. /TCP122 hy.)
BREMSE UND WECHSEL ANTRIEB (TC102 / TC102)
LENKGETRIEBE
KONSOLE UND SITZ
KARROSSERIE UND GEHÄUSE
570 PM
562 Hydro
560 / 560 Hydro
557
556
555 / 555 Hydro
Benzin-Antriebs-Mäher
Benzin-Schiebe-Mäher
Elektro Rasenmäher
Blasgeräte
Multimot
Impressum
(C) by motoruf