Zurück zu
Solo
>
Rasenmäher
>
Aufsitzmäher / Rasentraktoren
>
570 / 570 Hydro
>
1999
>
ELEKTRISCHETEILE (TC102 / TCP102)
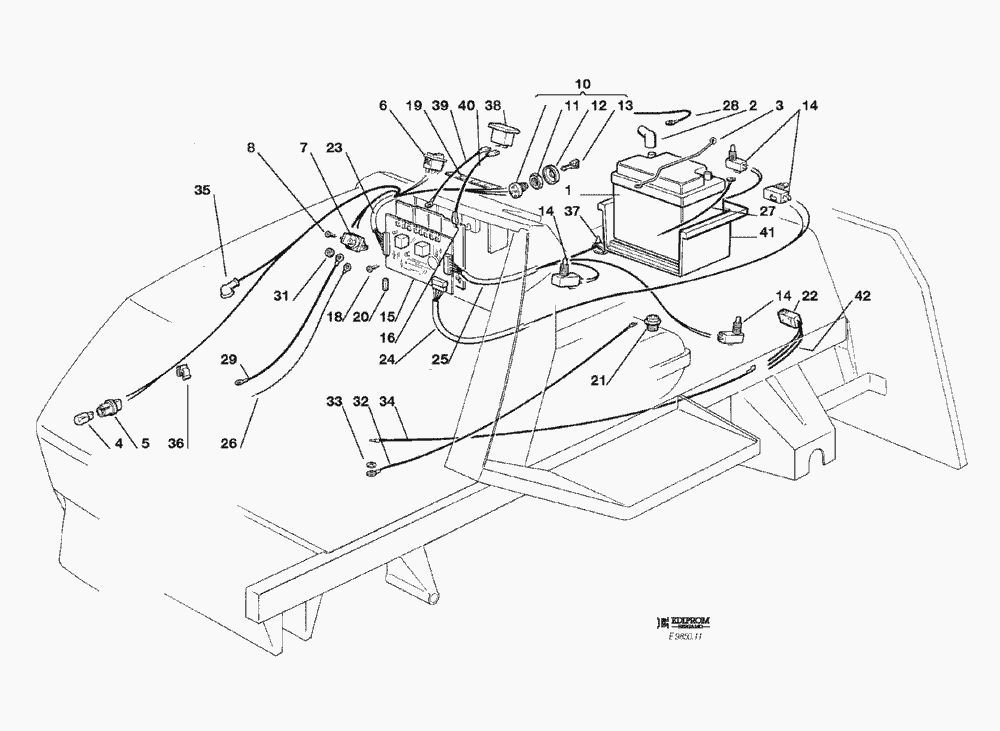
Ersatzteillisten für Solo Rasenmäher ELEKTRISCHETEILE (TC102 / TCP102)
Pos.
Bezeichnung
Ersatzteilnummer
1
BATTERIE
18120002/1
2
STECKER
18564862/0
3
FEDER
25430200/0
4
LAMPENFASSUN
18459100/0
5
SCHEINWERFERLAMPE
33500030/0
6
LICHTEN
18450060/0
7
ANLASSRELAIS
18736110/0
8
SCHRAUBE
12735110/0
10
SCHALTER
18450065/1
11
NUTMUTTER
18400861/0
12
NUTMUTTER SCHUTZ
18565351/0
13
SCHLÜSSEL FÜR START
18210016/0
14
MIKRO
19410603/1
15
ELEKTRONISCHE KARTE
ELEKTRONISCHE
16
KARTESCHUTZ
25600007/0
16
KARTESCHUTZ
25600009/0
18
SCHRAUBE
12735105/0
19
KONTROLLTAFEL (6 ANGABEN)
25420000/1
19
KONTROLLTAFEL (8 ANGABEN)
25420001/1
20
SICHERUNG
33340033/0
21
ANTRIEB SCHALTER
19410604/0
22
VOLLKORB VORRICHTUNG
19410605/1
23
KABELSATZ
82040024/0
23
KABELSATZ
82040026/0
23
KABELSATZ
82040025/0
24
KABELSATZ
82040004/1
24
KABELSATZ
82040005/2
25
KABELSATZ
KABELSATZ
26
KABEL
25065003/0
27
KABEL
25065004/0
28
KABELSATZ
25065001/0
29
KABELSATZ
25065002/0
31
MUTTER
12360352/0
32
KABEL
25065005/0
33
SCHEIBE
12540260/0
34
KABEL
KABEL
35
STECKER
18564861/0
36
KABELBEFESTIGUNG
33320505/0
37
KABELBEFESTIGUNG
33320506/0
38
BETRIEBSSTUNDEZÄHLER
18230000/0
39
KABEL (TCP)
25065009/0
40
KABEL (TCP)
25065010/1
41
BATTERIE STÜTZE
25785010/0
42
KABEL
25065023/0
15
ELEKTRONISCHE KARTE 6 ANGABEN
25722406/0
25
KABELSATZ
82040029/1
34
KABEL
25065011/0
15
ELEKTRONISCHE KARTE 8 ANGABEN
25722407/0
25
KABELSATZ
82040028/1
Gebrauchsanweisungen
Solo
Pflanzenschutzgeräte
Motorsägen
Motorsensen
Motorhacken
Balkenmäher
Vertikutierer
Rasenmäher
Aufsitzmäher / Rasentraktoren
576 / 576 Hydro
575 / 575 Hydro
572 / 572 Hydro
570 / 570 Hydro
2004
2003
2002
2001
2000
1999
ELEKTRISCHES SCHEMA 16 - 18 - 20 HP B&S (TC102 hy. / TCP102 hy. / TCP122 hy.)
ELEKTRISCHES SCHEMA 15,5 HP B&S (TC102 hy. / TCP102 hy.)
ELEKTRISCHES SCHEMA 12,5 - 13 HP B&S / 13 - 15 HP TECUMSEH (TC102 hy. / TCP102 hy. / TC122 hy.)
ELEKTRISCHES SCHEMA 16 - 18 - 20 HP B&S (TC102 / TCP102)
ELEKTRISCHES SCHEMA 15,5 HP B&S (TC102 / TCP102)
ELEKTRISCHES SCHEMA 12,5 - 13 HP B&S / 13 - 15 HP TECUMSEH (TC102 / TCP102)
ZUBEHOERE NACH ANFRAGE
ELEKTRISCHETEILE (TC102 hy. / TCP102 hy. / TC122 hy. / TCP122 hy.)
ELEKTRISCHETEILE (TC102 / TCP102)
AUFFANGSACK
SCHNEIDWERKZEUG (2)
AUSHEBEVORRICHTUNG UND VOLLKORBEINRICHTUNG
SCHNEIDWERKZEUG (1)
SCHNEIDWERKZEUG AUFHEBESATZ
GETRIEBE (TC102 hy. / TCP102 hy. / TC122 hy. / TCP122 hy.)
GETRIEBE (TC102 / TCP 102)
MOTOR 15 HP TECUMSEH (TC102 / TC102 hy.)
MOTOR 13 HP TECUMSEH (TC102 / TC102 hy.)
MOTOR 20 HP B&S (TCP122 hy.)
MOTOR 15,5 HP B&S (TC102 / TC102 hy. / TCP102 / TCP102 hy.)
MOTOR 16 - 18 HP B&S (TC102 / TC102 hy. / TCP102 / TCP102 hy. / TCP122 hy.)
MOTOR 12,5 - 13 HP B&S (TC102 / TC102 hy. / TCP102 / TCP102 hy.)
GETRIEBE UND BREMSE ANTRIEB (TC hy. / TCP hy. / TC122 hy. /TCP122 hy.)
BREMSE UND WECHSEL ANTRIEB (TC102 / TC102)
LENKGETRIEBE
KONSOLE UND SITZ
KARROSSERIE UND GEHÄUSE
570 PM
562 Hydro
560 / 560 Hydro
557
556
555 / 555 Hydro
Benzin-Antriebs-Mäher
Benzin-Schiebe-Mäher
Elektro Rasenmäher
Blasgeräte
Multimot
Impressum
(C) by motoruf