Zurück zu
Solo
>
Rasenmäher
>
Aufsitzmäher / Rasentraktoren
>
570 / 570 Hydro
>
1999
>
MOTOR 15 HP TECUMSEH (TC102 / TC102 hy.)
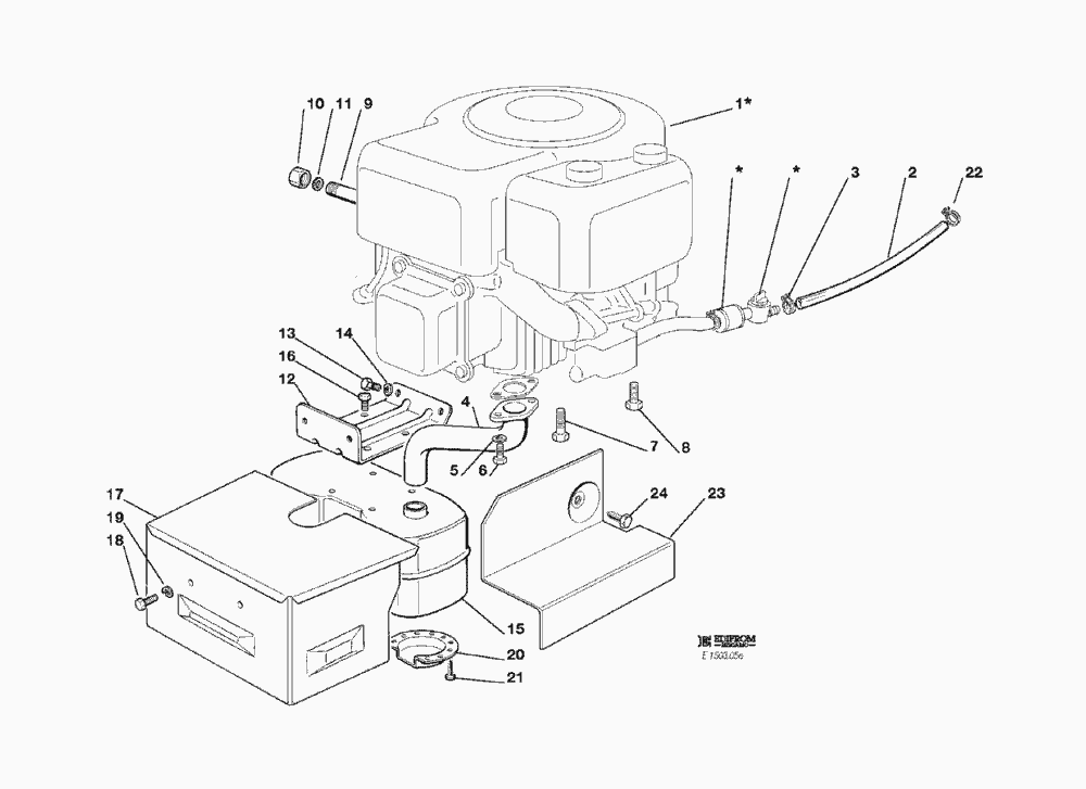
Ersatzteillisten für Solo Rasenmäher MOTOR 15 HP TECUMSEH (TC102 / TC102 hy.)
Pos.
Bezeichnung
Ersatzteilnummer
1
MOTOR
MOTORE
2
VERBINDUNGSROHR
25869027/0
3
KABELBEFESTIGUNG
18375051/1
4
VERBINDUNGSROHR FÜR ABGASUNG
18738212/0
5
GROWER
12583500/0
6
SCHRAUBE
12735530/0
7
SCHRAUBE
12735109/0
8
SCHRAUBE
12735108/0
9
ÖL ABFLUSS
25598050/0
10
OELVERSCHLUSS
18737849/0
11
DICHTUNG
18401001/0
12
AUSPUFFHALTERSATZ
82785093/0
13
SCHRAUBE
12793102/0
14
GROWER
12583500/0
15
AUSPUFF MIT DEFLEKTOR
18716132/0
16
SCHRAUBE
12735107/0
17
SCHUTZE
82598019/0
18
SCHRAUBE
12792611/0
19
GROWER
12583500/0
20
DEFLEKTOR
18310005/0
21
SCHRAUBE
12735106/0
22
KABELBEFESTIGUNG
18375053/0
23
AUSPUFFSCHUTZ
25600038/0
24
SCHRAUBE
12734995/0
Gebrauchsanweisungen
Solo
Pflanzenschutzgeräte
Motorsägen
Motorsensen
Motorhacken
Balkenmäher
Vertikutierer
Rasenmäher
Aufsitzmäher / Rasentraktoren
576 / 576 Hydro
575 / 575 Hydro
572 / 572 Hydro
570 / 570 Hydro
2004
2003
2002
2001
2000
1999
ELEKTRISCHES SCHEMA 16 - 18 - 20 HP B&S (TC102 hy. / TCP102 hy. / TCP122 hy.)
ELEKTRISCHES SCHEMA 15,5 HP B&S (TC102 hy. / TCP102 hy.)
ELEKTRISCHES SCHEMA 12,5 - 13 HP B&S / 13 - 15 HP TECUMSEH (TC102 hy. / TCP102 hy. / TC122 hy.)
ELEKTRISCHES SCHEMA 16 - 18 - 20 HP B&S (TC102 / TCP102)
ELEKTRISCHES SCHEMA 15,5 HP B&S (TC102 / TCP102)
ELEKTRISCHES SCHEMA 12,5 - 13 HP B&S / 13 - 15 HP TECUMSEH (TC102 / TCP102)
ZUBEHOERE NACH ANFRAGE
ELEKTRISCHETEILE (TC102 hy. / TCP102 hy. / TC122 hy. / TCP122 hy.)
ELEKTRISCHETEILE (TC102 / TCP102)
AUFFANGSACK
SCHNEIDWERKZEUG (2)
AUSHEBEVORRICHTUNG UND VOLLKORBEINRICHTUNG
SCHNEIDWERKZEUG (1)
SCHNEIDWERKZEUG AUFHEBESATZ
GETRIEBE (TC102 hy. / TCP102 hy. / TC122 hy. / TCP122 hy.)
GETRIEBE (TC102 / TCP 102)
MOTOR 15 HP TECUMSEH (TC102 / TC102 hy.)
MOTOR 13 HP TECUMSEH (TC102 / TC102 hy.)
MOTOR 20 HP B&S (TCP122 hy.)
MOTOR 15,5 HP B&S (TC102 / TC102 hy. / TCP102 / TCP102 hy.)
MOTOR 16 - 18 HP B&S (TC102 / TC102 hy. / TCP102 / TCP102 hy. / TCP122 hy.)
MOTOR 12,5 - 13 HP B&S (TC102 / TC102 hy. / TCP102 / TCP102 hy.)
GETRIEBE UND BREMSE ANTRIEB (TC hy. / TCP hy. / TC122 hy. /TCP122 hy.)
BREMSE UND WECHSEL ANTRIEB (TC102 / TC102)
LENKGETRIEBE
KONSOLE UND SITZ
KARROSSERIE UND GEHÄUSE
570 PM
562 Hydro
560 / 560 Hydro
557
556
555 / 555 Hydro
Benzin-Antriebs-Mäher
Benzin-Schiebe-Mäher
Elektro Rasenmäher
Blasgeräte
Multimot
Impressum
(C) by motoruf