Zurück zu
Solo
>
Rasenmäher
>
Aufsitzmäher / Rasentraktoren
>
555 / 555 Hydro
>
2002
>
SCHNEIDWERKZEUG AUFHEBESATZ F72 / F72 hy.
Ersatzteillisten für Solo Rasenmäher SCHNEIDWERKZEUG AUFHEBESATZ F72 / F72 hy.
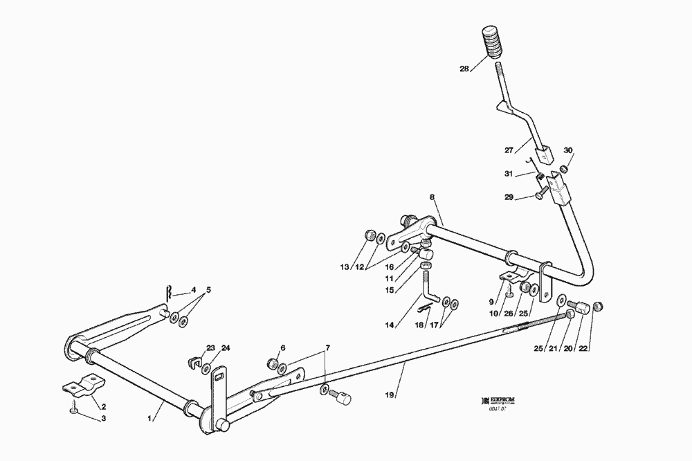
Pos.
Bezeichnung
Ersatzteilnummer
1
ACHSE
84001003/0
2
PLATTE
27546015/1
3
SCHRAUBE
12731350/0
4
SPLIT
24487997/0
5
SCHEIBE
25670008/0
6
MUTTER
12156602/0
7
SCHEIBE
25670008/0
8
ACHSE
84001005/1
9
PLATTE
27546015/1
10
SCHRAUBE
12731350/0
11
BOLZEN
25510007/1
12
SCHEIBE
25670008/0
13
MUTTER
12156602/0
14
SPANNSTANGE
25840003/0
15
MUTTER
12295200/0
16
MUTTER
12156602/0
17
SCHEIBE
25670008/0
18
SPLIT
24487997/0
19
STAB
84002051/0
20
BOLZEN
25510040/1
21
MUTTER
12293200/0
22
MUTTER
12155000/0
23
PLATTE
12436050/0
24
SCHEIBE
25670011/0
25
SCHEIBE
25670011/0
26
MUTTER
12155000/0
27
HEBEL
84317065/1
28
WECHSEL
25394510/0
29
SCHRAUBE
12674700/0
30
MUTTER
12154510/0
31
FEDER
27430555/0
Gebrauchsanweisungen
Solo
Pflanzenschutzgeräte
Motorsägen
Motorsensen
Motorhacken
Balkenmäher
Vertikutierer
Rasenmäher
Aufsitzmäher / Rasentraktoren
576 / 576 Hydro
575 / 575 Hydro
572 / 572 Hydro
570 / 570 Hydro
562 Hydro
560 / 560 Hydro
557
556
555 / 555 Hydro
2004
2003
2002
KLEBZETTEL F72 / F72 hy.
ZUBEHOERE NACH ANFRAGE F72 / F72 hy.
ELEKTRISCHETEILE F72 / F72 hy.
AUFFANGSACK F72 / F72 hy.
SCHNEIDWERKZEUG (2) F72 / F72 hy.
SCHNEIDWERKZEUG (1) F72 / F72 hy.
SCHNEIDWERKZEUG AUFHEBESATZ F72 / F72 hy.
GETRIEBE F72 hy.
GETRIEBE F72
MOTOR F72 / F72 hy. 10 HP TECUMSEH
MOTOR F72 / F72 hy. 10 - 10,5 - 11 - 11,5 - 12 - 12,5 HP B&S
GETRIEBE UND BREMSE ANTRIEB F72 hy.
BREMSE UND WECHSEL ANTRIEB F72
LENKGETRIEBE F72 / F72 hy.
KARROSSERIE F72 / F72 hy.
RAHMENSATZ F72 / F72 hy.
2001
2000
1999
555 PM
Benzin-Antriebs-Mäher
Benzin-Schiebe-Mäher
Elektro Rasenmäher
Blasgeräte
Multimot
Impressum
(C) by motoruf